Operation CHARM: Car repair manuals for everyone.
Manuals through 2025 now available!

Our trusted friends have launched a new website named LEMON, which has newer manuals. It also contains all the CHARM manuals.

LEMON is the spiritual successor to CHARM, I recommend you try it!

Link: lemon-manuals.la or lemon-manuals.org.ua

(Some people have issue connecting. LEMON is investigating. For now, use Firefox or change your DNS server)

Or, hide this message: temporarily or permanently

Timing Chain: Service and Repair




TIMING CHAIN REMOVAL/INSTALLATION [L3 WITH TC]

1. Disconnect the negative battery cable.

2. Remove the under cover.

3. Remove the splash shield.

4. Remove the charge air cooler. (See Service and Repair.)

5. Remove the high pressure fuel pump. (See High Pressure Fuel Pump Removal/Installation.)

6. Remove the ignition coils. (See Service and Repair.)

7. Disconnect the wiring harness.

8. Remove the ventilation hose.

9. Remove the drive belt. (See Service and Repair.)

10. Remove the crankshaft position (CKP) sensor. (See Service and Repair.)

11. Remove the P/S oil pump with the hoses and pipes still connected. (See Removal and Replacement.)
NOTE:
- Position and secure the P/S oil pump out of the way with a rope or wire.

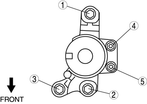
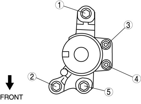
12. Remove the bracket shown in the figure, and place the power steering pressure hose outside of the vehicle.






13. Remove in the order indicated in the figure.

14. Install in the reverse order of removal.

15. Start the engine and inspect and adjust the following:
a. Engine oil amount (See Testing and Inspection.)

b. Runout and contact of pulley and belt.

c. Ignition timing, idle speed, and idle mixture (CO and HC) verification (See Service and Repair.)









Cylinder Head Cover Removal Note

1. Loosen the cylinder head cover bolts in the order shown in the figure.






Crankshaft Pulley Lock Bolt Removal Note

1. Rotate the crankshaft in the direction of the engine rotation and remove the cylinder block lower blind plug when the No. 1 cylinder is at the point prior to top dead center (TDC) of compression, then install the SST.






2. Rotate the crankshaft in the direction of the engine rotation so that the No.1 piston is at TDC of the compression stroke. (Until the counterweight contacts SST and stops.)

3. Install the SST to the crankshaft pulley and lock the crankshaft against rotation.






No.3 Engine Mount Removal Note

1. Remove the windshield wiper arm and blade. (See Windshield Wiper Arm And Blade Removal/Installation.)

2. Remove the cowl grille. (See Cowl Grille Removal/Installation.)

3. Remove the air cleaner and air cleaner bracket. (See Service and Repair.)

4. To install the front shaft (RH) of the SST, remove the clip shown the figure.






5. Install the SST using the following procedure.

CAUTION:
- Refer to the SST instruction manual for the basic handing procedure.





a. Install the right rear shaft of the SST to the bolt of the right shock absorber as shown in the figure.






b. Install the left rear shaft of the SST to the bolt of the left shock absorber. (Identical position to the right side)

c. Temporarily tighten the bolt (M6 x 1.0) to the air cleaner bracket installation position and install front foot No. 2 to the left/right front shaft of the SST, and align the front shaft hole of the SST with the bolt as shown in the figure.






d. Adjust the positions of the SST side bars so that they are the same height (left and right) and horizontal.

e. Make sure each joint is securely tightened.

6. Support the engine using the SST.






Front Oil Seal Removal Note

1. Remove the front oil seal using a flathead screwdriver or similar tool.






Chain Tensioner Removal Note

1. Press the timing chain tensioner ratchet to the left using a thin flathead screwdriver (precision screwdriver) to unlock the plunger.






2. Slowly press the plunger back in the direction shown in the figure while pressing the ratchet.






3. Release the ratchet with the plunger still pressed down.






4. Press-in the plunger until the ratchet position is as indicated in the figure, and then insert the wire to lock the plunger.






Oil Pump Driven Sprocket Removal Note

1. Temporarily install the crankshaft pulley and crankshaft pulley lock bolt to the crankshaft, and lock the oil pump against rotation as shown in figure.






2. Remove the oil pump driven sprocket, and then remove the crankshaft pulley and crankshaft pulley lock bolt.

Oil Pump Drive Sprocket Installation Note

1. The oil pump drive sprocket has the assembly direction as shown in the figure.






Oil Pump Driven Sprocket Installation Note

1. Temporarily install the crankshaft pulley and crankshaft pulley lock bolt to the crankshaft, and lock the oil pump against rotation as shown in figure.






2. Install the oil pump driven sprocket, and then remove the crankshaft pulley and crankshaft pulley lock bolt.

Tightening torque
- 20-30 Nm {2.1-3.0 kgf-m, 15-22 ft-lbf}

Timing Chain Installation Note

1. Install the SST to the camshaft as shown in the figure.






2. Install the timing chain.

3. Remove the wire or paper clip from the chain tensioner piston and apply tension to the timing chain.

Front Oil Seal Installation Note

1. Apply clean engine oil to a new front oil seal.

2. Push the front oil seal in the engine front cover by hand.

3. Use the SST to tap in the front oil seal.











Front oil seal press-in amount
- 0-0.5 mm {0-0.019 in}

Engine Front Cover Installation Note

1. Apply silicone sealant to the engine front cover.

CAUTION:
- Install the engine front cover before the applied silicone sealant starts to harden.





Thickness
- A: 2.2-3.2 mm {0.087-0.12 in}

- B: 1.5-2.5 mm {0.06-0.098 in}

2. Tighten the engine front cover installation bolts in the order shown in the figure.











No.3 Engine Mount Installation Note

1. Tighten the No.3 engine mount stud bolts.






Tightening torque
- 7.0-13 Nm {72-132 kgf-cm, 62-115 in-lbf}

NOTE:
- If the No.3 engine joint bracket and the engine are removed, retighten the No.3 engine mount stud bolt

2. Temporarily tighten the bolts and nuts in the order shown in the figure.






3. Tighten the bolts and nuts in the order shown in the figure.






Tightening torque
- 74.5-104.9 Nm {7.6-10.6 kgf-m, 55.0-77.3 ft-lbf}

Crankshaft Pulley Lock Bolt Installation Note

1. Install the SST to the camshaft as shown in the figure.






2. Verify that the No.1 cylinder is at TDC of the compression stroke. (The position counter weight contacts the SST.)

3. To position the crankshaft pulley, temporarily tighten it and, using a suitable bolt (M6 X 1.0 length 25-35 mm {0.99-1.3 in}), fix the crankshaft pulley to the engine front cover.






4. Install the SSTs to the crankshaft pulley, lock the crankshaft against rotation, and tighten the crankshaft pulley lock bolt using the following two steps.






Tightening procedure
- (1) 96-104 Nm {9.8-10.6 kgf-m, 70.9-76.7 ft-lbf}
- (2) 87°-93°

5. Remove the bolt (M6 X 1.0 length 25-35 mm {0.99-1.3 in}) installed to the crankshaft pulley.

6. Remove the SST from the camshaft.

7. Remove the SST installed in the cylinder block lower blind plug hole.

8. Rotate the crankshaft clockwise two turns and inspect the valve timing.

- If not aligned, repeat from Step 1.

9. Install the cylinder block lower blind plug.






Tightening torque
- 18-22 Nm {1.9-2.2 kgf-m, 14-16 ft-lbf}

Cylinder Head Cover Installation Note

1. Apply silicone sealant to the areas shown in the figure.

CAUTION:
- Install the cylinder head cover before the applied silicone sealant starts to harden.









Thickness
- 5.0 mm {0.20 in}

2. Tighten the cylinder head cover bolts in the order shown in the figure.






Tightening torque
- 8.0-9.5 Nm {82-96 kgf-cm, 71-84 in-lbf}