Operation CHARM: Car repair manuals for everyone.
Manuals through 2025 now available!

Our trusted friends have launched a new website named LEMON, which has newer manuals. It also contains all the CHARM manuals.

LEMON is the spiritual successor to CHARM, I recommend you try it!

Link: lemon-manuals.la or lemon-manuals.org.ua

(Some people have issue connecting. LEMON is investigating. For now, use Firefox or change your DNS server)

Or, hide this message: temporarily or permanently

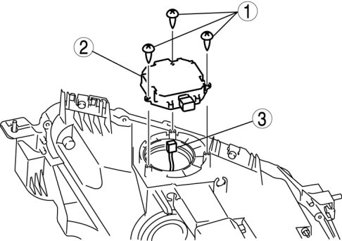
Discharge Headlight Control Module Removal/Installation




DISCHARGE HEADLIGHT CONTROL MODULE REMOVAL/INSTALLATION

WARNING:
- Incorrect servicing of the discharge headlights could result in electrical shock. Before servicing the discharge headlights, always refer to the discharge headlight service warnings. Service Precautions

1. Disconnect the negative battery cable.

2. Remove the front bumper. Removal and Replacement

3. Remove the front combination light. Service and Repair

4. Remove in the order indicated in the table.










5. Install in the reverse order of removal.