Emission Control Systems: Service and Repair
QUICK RELEASE CONNECTOR (EMISSION SYSTEM) REMOVAL/INSTALLATION [MZI-3.7]
Quick Release Connector Type
CAUTION:
- Verify the type and location, and install/remove properly.
Type A Removal
1. Release the retainer shown in the figure.
2. Disconnect the quick release connector.
3. Cover the disconnected quick release connector and evaporative pipe with vinyl sheeting or a similar material to prevent it from getting scratched or dirty.
Type B Removal
NOTE:
- If the quick release connector is removed, replace the retainer with a new one.
1. Push the retainer.
NOTE:
- The quick release connector can be removed by pushing the center of the retainer tabs.
- The retainer is attached to the evaporative pipe even after the connector is disconnected.
2. Pull the connector side and disconnect the quick release connector.
3. Cover the disconnected quick release connector and evaporative pipe with vinyl sheeting or a similar material to prevent it from getting scratched or dirty.
Type C Removal
1. Move the retainer upward using a small flathead screwdriver or a similar tool.
2. Pull out the evaporative hose straight from the evaporative pipe and disconnect it.
3. Cover the disconnected quick release connector and evaporative pipe with vinyl sheeting or a similar material to prevent it from getting scratched or dirty.
Type D Removal
CAUTION:
- The quick release connector may be damaged if the release tab is bent excessively. Do not expand the release tab over the stopper.
NOTE:
- The evaporative hose can be removed by pushing it to the evaporative pipe side to release the lock.
1. Rotate the release tab on the quick release connector to the stopper position.
2. Pull out the evaporative hose straight from the evaporative pipe and disconnect it.
3. Cover the disconnected quick release connector and evaporative pipe with vinyl sheeting or a similar material to prevent it from getting scratched or dirty.
Type E Removal
CAUTION:
- The quick release connector may be damaged if the release tab is bent excessively. Do not expand the release tab over the stopper.
NOTE:
- The evaporative hose can be removed by pushing it to the evaporative pipe side to release the lock.
1. Release the retainer shown in the figure.
2. Disconnect the quick release connector.
3. Cover the disconnected quick release connector and evaporative pipe with vinyl sheeting or a similar material to prevent it from getting scratched or dirty.
Type A Installation
1. Inspect the evaporative hose and evaporative pipe sealing surface for damage and deformation.
- If there is any malfunction, replace it with a new one.
2. Connect the quick release connector.
Type B Installation
NOTE:
- If the quick release connector O-ring is damaged or has slipped, replace the evaporative hose.
- A checker tab is integrated with the quick release connector for new evaporative hoses. Remove the checker tab from the quick release connector after the connector is completely engaged with the evaporative pipe.
1. Remove the retainer remaining on the charcoal canister pipe.
2. Install a new retainer to the quick release connector.
3. Reconnect the evaporative hose straight to the evaporative pipe until a click is heard.
4. Lightly pull and push the quick release connector a few times by hand, and then verify that it is connected securely.
Type C Installation
NOTE:
- If the quick release connector O-ring is damaged or has slipped, replace the evaporative hose.
1. Inspect the evaporative hose and evaporative pipe sealing surface for damage and deformation.
- If there is any malfunction, replace it with a new one.
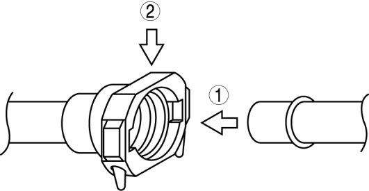
2. Install the quick release connector.
- Insert the evaporative pipe straight to the end of the quick release connector.
- Push down the retainer using a finger.
- If the retainer cannot be pushed down, push the evaporative pipe further to the quick release connector.
3. Lightly pull and push the quick release connector a few times by hand, and then verify that it is connected securely.
Type D Installation
NOTE:
- If the quick release connector O-ring is damaged or has slipped, replace the evaporative hose.
- A checker tab is integrated with the quick release connector for new evaporative hoses. Remove the checker tab from the quick release connector after the connector is completely engaged with the evaporative pipe.
1. Inspect the evaporative hose and evaporative pipe sealing surface for damage and deformation.
- If there is any malfunction, replace it with a new one.
2. Apply a small amount of clean engine oil to the sealing surface of the evaporative pipe.
3. Reconnect the evaporative hose straight to the evaporative pipe until a click is heard.
NOTE:
- If the quick release connector does not move at all, disconnect it, verify that the O-ring is not damaged or has not slipped, and then reconnect the quick release connector.
4. Lightly pull and push the quick release connector a few times by hand, and then verify that it can move 2.0-3.0 mm {0.08-0.12 in} and is connected securely.
Type E Installation
1. Inspect the evaporative hose and evaporative pipe sealing surface for damage and deformation.
- If there is any malfunction, replace it with a new one.
2. Install the quick release connector.
- Insert the evaporative pipe straight to the end of the quick release connector.
- Push down the retainer using a finger.
- If the retainer cannot be pushed down, push the evaporative pipe further to the quick release connector.
3. Lightly pull and push the quick release connector a few times by hand, and then verify that it is connected securely.