Operation CHARM: Car repair manuals for everyone.
Manuals through 2025 now available!

Our trusted friends have launched a new website named LEMON, which has newer manuals. It also contains all the CHARM manuals.

LEMON is the spiritual successor to CHARM, I recommend you try it!

Link: lemon-manuals.la or lemon-manuals.org.ua

(Some people have issue connecting. LEMON is investigating. For now, use Firefox or change your DNS server)

Or, hide this message: temporarily or permanently

Determining Malfunctioning Part (MS-CAN) - Multiplex Communication System




DETERMINING MALFUNCTIONING PART (MS-CAN) [MULTIPLEX COMMUNICATION SYSTEM]

CAUTION:
- If the malfunctioning part is detected in the communication line, before disconnecting the related connector for inspection, press the connector in the connection direction to verify that there is no looseness or disconnection.
- When disconnecting the connector, verify that there is no damage, deformation, or corrosion of the connector terminals.

1. Verify the following for the modules related to the CAN system.

- Communication error DTCs
- Malfunctioning module
- Display status of the air conditioner/audio control on the multi information display/information display when the climate control unit, or either the audio unit is operated.
- The operation condition of the SIRIUS satellite radio system and the Bluetooth system.

2. Look for a DTC display pattern and system operation status in tandem which match.
NOTE:
- A hyphen (-) in the DTC output pattern cell indicates that the DTC may or may not be displayed depending on the malfunction detection conditions. If it is not displayed, the malfunctioning location can be determined by checking the crosses (x) and asterisks (*).

3. Refer to the matching tandem diagnostic results (A to G) and inspect the possible cause and inspection item.

4. Perform the DTC inspection after the repair procedure.

- If any DTC is displayed, return to Initial Inspection and Diagnostic Overview.

Diagnostic Table for Determining Malfunctioning Part
Cross (x): DisplayedHyphen (-): May or may not be displayedAsterisk (*): No display or no operation





*1
The DTC is displayed on M-MDS.
*2
The DTC is displayed on the information display.
*3
If "None ACU" is displayed on the multi information display/information display, no DTC is displayed.
*4
If "None EATC" is displayed on the multi information display/information display, no DTC is displayed.

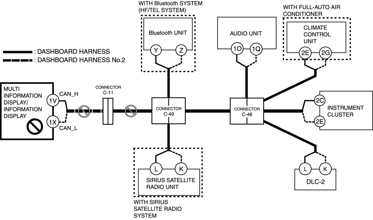
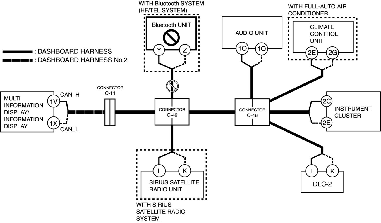
A

Possible cause

- Connector terminal disconnection, poor contact, damage, deformation, corrosion
- Open circuit in wiring harness between multi information display/information display and connector C-11
- Open circuit in wiring harness between connector C-11 and connector C-49
- Connector C-11 malfunction
- Connector C-49 malfunction
- Multi information display/information display malfunction

System wiring diagram





Inspection item

- Multi information display/information display connector
- Connector C-11
- Connector C-49
- Wiring harness between multi information display/information display terminal 1V and connector C-11
- Wiring harness between multi information display/information display terminal 1X and connector C-11
- Wiring harness between connector C-11 and connector C-49
- Multi information display/information display

B

Possible cause

- Connector terminal disconnection, poor contact, damage, deformation, corrosion
- Open circuit in wiring harness between Bluetooth unit and connector C-49
- Connector C-49 malfunction
- Bluetooth unit malfunction

System wiring diagram





Inspection item

- Bluetooth unit connector
- Connector C-49
- Wiring harness between Bluetooth unit terminal Y and connector C-49
- Wiring harness between Bluetooth unit terminal Z and connector C-49
- Bluetooth unit

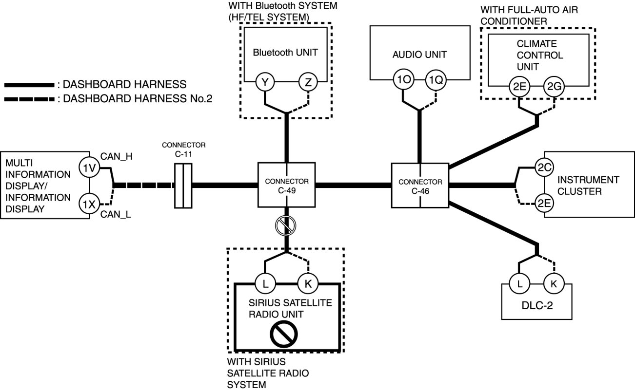
C

Possible cause

- Connector terminal disconnection, poor contact, damage, deformation, corrosion
- Open circuit in wiring harness between SIRIUS satellite radio unit and connector C-49
- Connector C-49 malfunction
- SIRIUS satellite radio unit malfunction

System wiring diagram





Inspection item

- SIRIUS satellite radio unit connector
- Connector C-49
- Wiring harness between SIRIUS satellite radio unit terminal L and connector C-49
- Wiring harness between SIRIUS satellite radio unit terminal K and connector C-49
- SIRIUS satellite radio unit

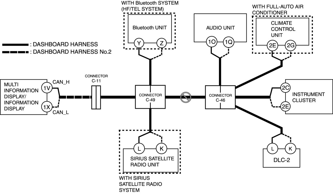
D

Possible cause

- Connector terminal disconnection, poor contact, damage, deformation, corrosion
- Open circuit in wiring harness between connector C-49 and connector C-46
- Connector C-49 malfunction
- Connector C-46 malfunction

System wiring diagram





Inspection item

- Connector C-49
- Connector C-46
- Wiring harness between connector C-49 and connector C-46

E

Possible cause

- Connector terminal disconnection, poor contact, damage, deformation, corrosion
- Open circuit in wiring harness between audio unit and connector C-46
- Connector C-46 malfunction
- Audio unit malfunction

System wiring diagram





Inspection item

- Audio unit connector
- Connector C-46
- Wiring harness between audio unit terminal 1O and connector C-46
- Wiring harness between audio unit terminal 1Q and connector C-46
- Audio unit

F

Possible cause

- Connector terminal disconnection, poor contact, damage, deformation, corrosion
- Open circuit in wiring harness between climate control unit and connector C-46
- Connector C-46 malfunction
- Climate control unit malfunction

System wiring diagram





Inspection item

- Climate control unit connector
- Connector C-46
- Wiring harness between climate control unit terminal 2E and connector C-46
- Wiring harness between climate control unit terminal 2G and connector C-46
- Climate control unit

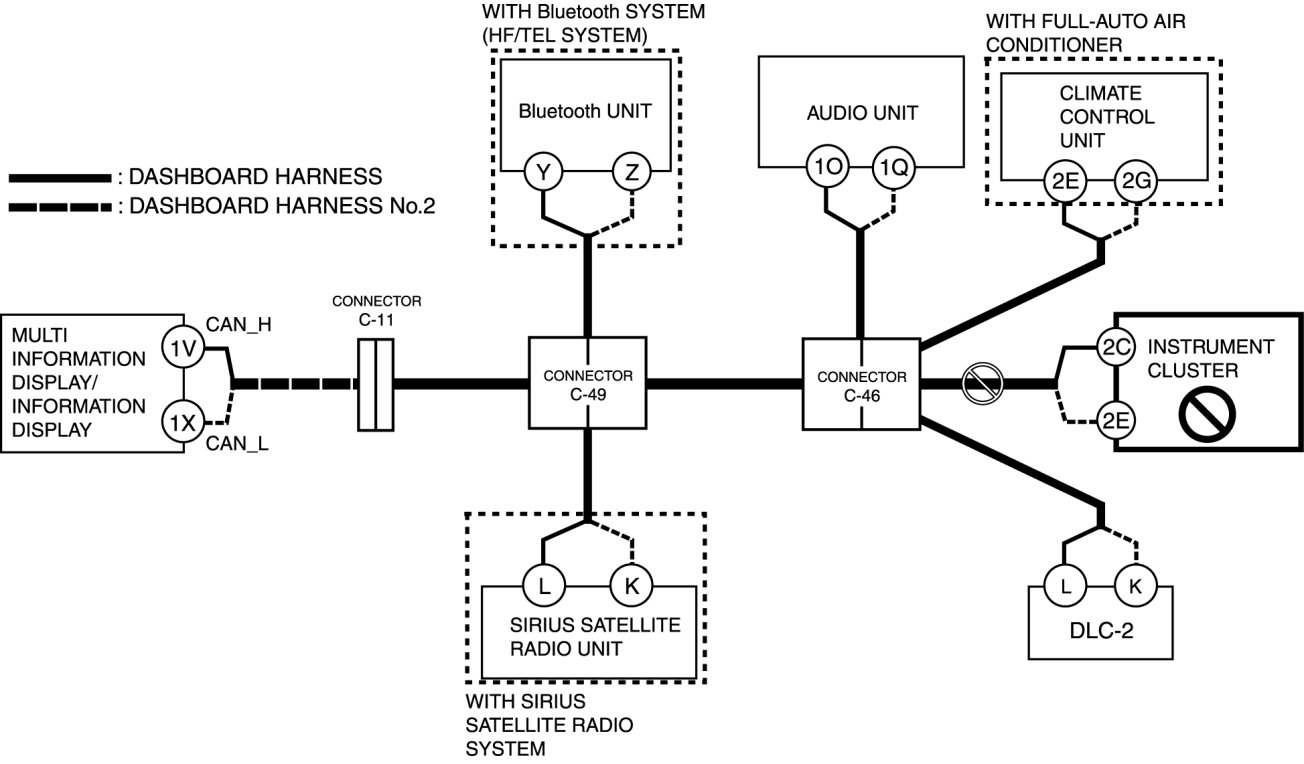
G

Possible cause

- Connector terminal disconnection, poor contact, damage, deformation, corrosion
- Open circuit in wiring harness between instrument cluster and connector C-46
- Connector C-46 malfunction
- Instrument cluster malfunction

System wiring diagram





Inspection item

- Instrument cluster connector
- Connector C-46
- Wiring harness between instrument cluster terminal 2C and connector C-46
- Wiring harness between instrument cluster terminal 2E and connector C-46
- Instrument cluster