Operation CHARM: Car repair manuals for everyone.
Manuals through 2025 now available!

Our trusted friends have launched a new website named LEMON, which has newer manuals. It also contains all the CHARM manuals.

LEMON is the spiritual successor to CHARM, I recommend you try it!

Link: lemon-manuals.la or lemon-manuals.org.ua

(Some people have issue connecting. LEMON is investigating. For now, use Firefox or change your DNS server)

Or, hide this message: temporarily or permanently

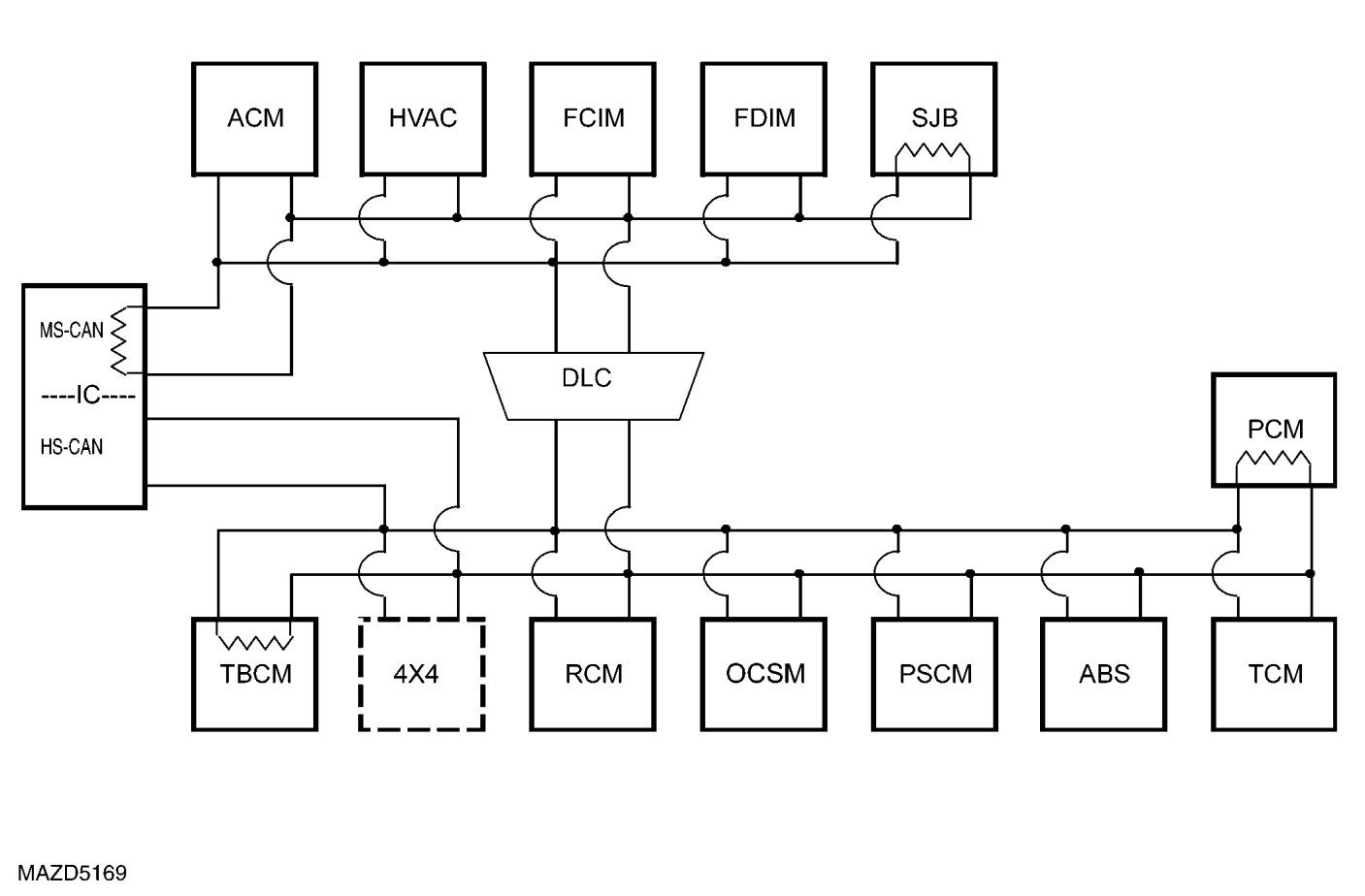
Communications Network - Control System




COMMUNICATIONS NETWORK - HYBRID

Principles of Operation

Vehicle communication utilizes both International Standards Organization (ISO) 9141 and controller area network (CAN) communications. ISO 9141 is used for diagnostic use only while CAN allows many modules to communicate with each other on a common network. CAN in-vehicle networking is a method for transferring data among distributed electronic modules via a serial data bus.
The vehicle has 3 module communication networks:

- ISO 9141
- Medium speed (MS) CAN
- High speed (HS) CAN

All 3 networks are connected to the data link connector (DLC). This makes diagnosis and testing of these systems easier by allowing one scan tool to be able to diagnose and control any module on the 3 networks from one connector. The DLC can be found under the instrument panel between the steering column and the audio control module (ACM).

Network Topology - Hybrid









MS-CAN Operation

The MS-CAN communicates using bussed messages. The MS-CAN has an unshielded twisted pair cable, data bus (+) and data bus (-) circuits. In addition to scan tool communication, this network allows sharing of information between all modules on the network.The MS-CAN is a medium speed communication network used for the following modules:

- Audio control module (ACM)
- HVAC module
- Front controls interface module (FCIM)
- Front display interface module (FDIM)
- Instrument cluster (IC)
- Satellite digital audio receiver system (SDARS) module
- Smart junction box (SJB)

HS-CAN Operation

The HS-CAN communicates using bussed messages. The HS-CAN uses an unshielded twisted pair cable, data bus (+) and data bus (-) circuits. In addition to scan tool communication, this network allows sharing of information between all modules on the network.The HS-CAN is a high speed communication network used for the following modules:

- 4X4 control module
- ABS module
- IC
- Occupant classification sensor module (OCSM)
- Power steering control module (PSCM)
- PCM
- Restraints control module (RCM)
- Battery control module (BCM)
- Transmission control module (TCM)

Network Termination

The CAN network uses a network termination circuit to improve communication reliability. The network termination of the CAN bus takes place inside the termination modules by termination resistors. Termination modules are located at either end of the bus network. As network messages are broadcast, in the form of voltage signals, the network voltage signals are stabilized by the termination resistors. Each termination module has a 120 ohm resistor across the positive and negative bus connection in the termination module. With 2 termination modules on each network, and the 120 ohm resistors located in a parallel circuit configuration, the total network impedance, or total resistance, is 60 ohms.Network termination improves bus message reliability by:

- stabilizing bus voltage.
- eliminating electrical interference.

Gateway Module

The IC is the gateway module, translating HS-CAN to MS-CAN and vice versa. This information allows a message to be distributed throughout both networks. The IC is the only module on this vehicle that has this ability.