Manuals through 2025 now available!
Our trusted friends have launched a new website named LEMON, which has newer manuals. It also contains all the CHARM manuals.
LEMON is the spiritual successor to CHARM, I recommend you try it!
Link:
lemon-manuals.la or
lemon-manuals.org.ua
(Some people have issue connecting. LEMON is investigating. For now, use Firefox or change your DNS server)
Or, hide this message:
temporarily or
permanently
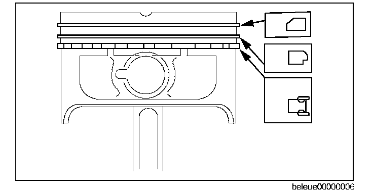
Piston Ring Assembly Note
Piston Ring Assembly Note 1.
Install the two oil control ring segments and spacer.
2.
Verify that the second ring is installed with scraper face side downward.
3.
Verify that the top ring is installed with chamfered face side inner of upper.
4.
Position the end gap of each ring as indicated in the figure.