Operation CHARM: Car repair manuals for everyone.
Manuals through 2025 now available!

Our trusted friends have launched a new website named LEMON, which has newer manuals. It also contains all the CHARM manuals.

LEMON is the spiritual successor to CHARM, I recommend you try it!

Link: lemon-manuals.la or lemon-manuals.org.ua

(Some people have issue connecting. LEMON is investigating. For now, use Firefox or change your DNS server)

Or, hide this message: temporarily or permanently

Differential: Service and Repair




DIFFERENTIAL - FRONT WHEEL DRIVE (FWD) DISASSEMBLY/ASSEMBLY









Disassembly





1. Using the special tool, measure and record backlash for the differential side gears. Install a new differential if beyond specification.

NOTE:Backlash specification: 0.02-0.08 mm (0.0008-0.0031 in).
2. Remove the 10 bolts and the final drive gear.





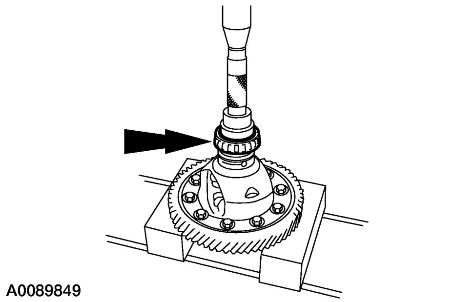
3. Using the special tools, remove the differential side bearing.

- Discard the differential side bearing.

4. Remove the spacer.

5. Remove the spacer and the VSS drive gear.





6. Using the special tools, remove the differential side bearing.

- Discard the differential side bearing.

Assembly





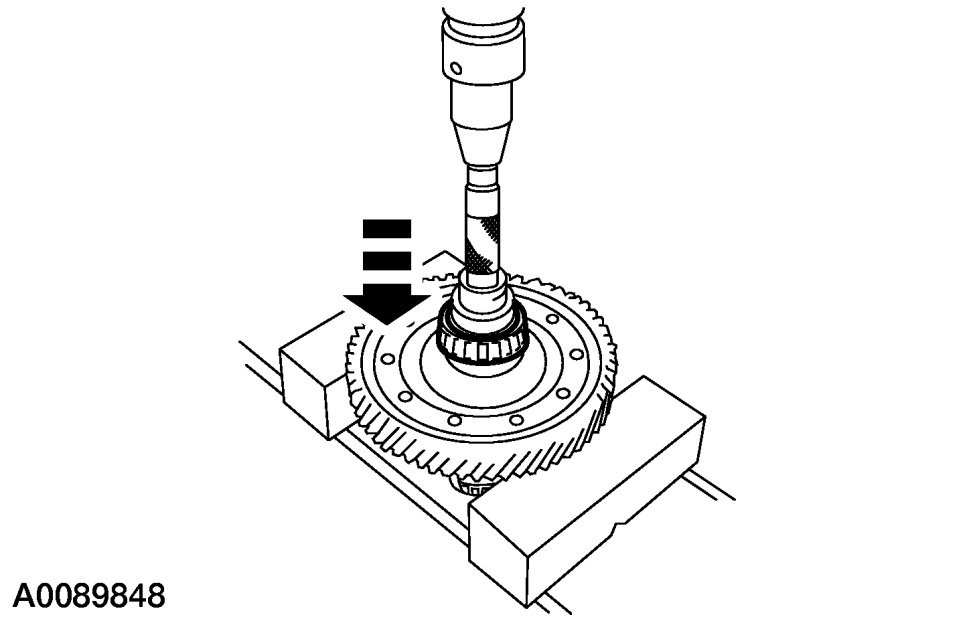
1. Using a suitable press, install a new differential side bearing. Only use the inner bearing race to install.

2. Install the VSS drive gear.





3. Install the spacer.





4. Install the final drive gear and the 10 bolts.

- Tighten in sequence to 120 Nm {12.2 kgf-m, 89 ft-lbf}.