Operation CHARM: Car repair manuals for everyone.
Manuals through 2025 now available!

Our trusted friends have launched a new website named LEMON, which has newer manuals. It also contains all the CHARM manuals.

LEMON is the spiritual successor to CHARM, I recommend you try it!

Link: lemon-manuals.la or lemon-manuals.org.ua

(Some people have issue connecting. LEMON is investigating. For now, use Firefox or change your DNS server)

Or, hide this message: temporarily or permanently

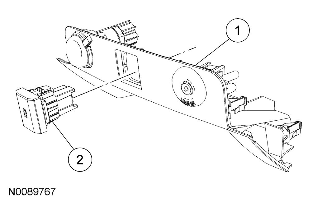
Traction Control Switch: Service and Repair




STABILITY/TRACTION CONTROL SWITCH REMOVAL/INSTALLATION









1. Remove the lower instrument cluster center finish panel. See - Instrument Panel Center Finish Panel - Lower Removal/Installation.





2. Depress the 2 tabs and remove the stability/traction control switch assembly.

3. To install, reverse the removal procedure.