Operation CHARM: Car repair manuals for everyone.
Manuals through 2025 now available!

Our trusted friends have launched a new website named LEMON, which has newer manuals. It also contains all the CHARM manuals.

LEMON is the spiritual successor to CHARM, I recommend you try it!

Link: lemon-manuals.la or lemon-manuals.org.ua

(Some people have issue connecting. LEMON is investigating. For now, use Firefox or change your DNS server)

Or, hide this message: temporarily or permanently

Knock Sensor: Service and Repair




KNOCK SENSOR (KS) REMOVAL/INSTALLATION - 3.0L

Cylinder Head-Mounted Knock Sensor (KS)










Engine Block-Mounted Knock Sensor (KS)










Removal

Cylinder head-mounted knock sensor (KS)

1. Disconnect the Knock Sensor (KS) electrical connector.

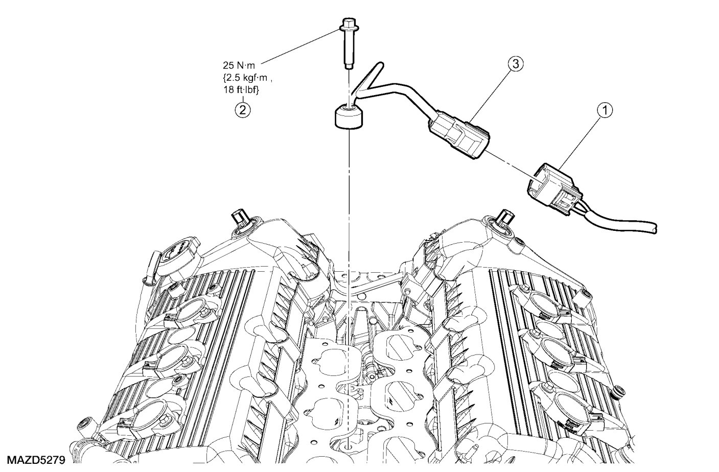
2. Remove the bolt and the KS.

Engine block-mounted KS

1. Remove the lower intake manifold. See - Lower Intake Manifold Removal/Installation.

2. Disconnect the KS electrical connector.

3. Remove the bolt and the KS.

Installation

Engine block-mounted KS

1. Install the KS and the bolt.

- Tighten to 25 Nm {2.5 kgf-m, 18 ft-lbf}.

2. Connect the KS electrical connector.

3. Install the lower intake manifold. See - Lower Intake Manifold Removal/Installation.

Cylinder head-mounted KS

1. Install the KS and the bolt.

- Tighten to 25 Nm {2.5 kgf-m, 18 ft-lbf}.

2. Connect the KS electrical connector.