Operation CHARM: Car repair manuals for everyone.
Manuals through 2025 now available!

Our trusted friends have launched a new website named LEMON, which has newer manuals. It also contains all the CHARM manuals.

LEMON is the spiritual successor to CHARM, I recommend you try it!

Link: lemon-manuals.la or lemon-manuals.org.ua

(Some people have issue connecting. LEMON is investigating. For now, use Firefox or change your DNS server)

Or, hide this message: temporarily or permanently

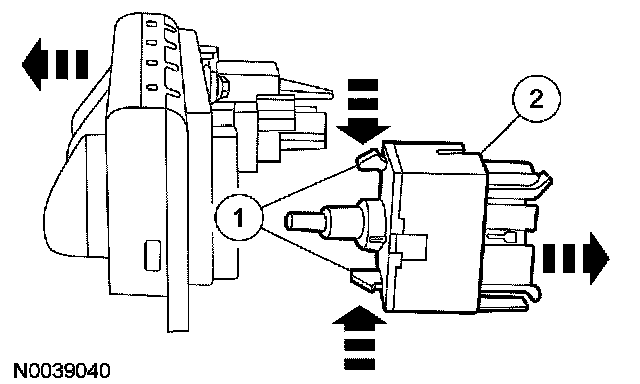
Function Selector Switch

FUNCTION SELECTOR SWITCH

Removal and Installation
1. Remove the climate control assembly.
2. Pull and remove the function selector switch knob.







3. Remove the function selector switch.
1 Release the tabs.
2 Remove the function selector switch.

4. To install, reverse the removal procedure.