Operation CHARM: Car repair manuals for everyone.
Manuals through 2025 now available!

Our trusted friends have launched a new website named LEMON, which has newer manuals. It also contains all the CHARM manuals.

LEMON is the spiritual successor to CHARM, I recommend you try it!

Link: lemon-manuals.la or lemon-manuals.org.ua

(Some people have issue connecting. LEMON is investigating. For now, use Firefox or change your DNS server)

Or, hide this message: temporarily or permanently

System Specifications

The cylinder head must not have depressions deeper than 0.0254 mm (0.001 inch) across a 38.1 mm (1.5 inch) square area, or scratches more than 0.0254 mm (0.001 inch).

Cylinder Block
Cylinder bore
Diameter 90.213-90.226 (grade 2)
Maximum taper 0.013 mm (0.00051 inch)
Maximum out-of-round 0.015 mm (0.00059 inch)
Main bearing bore inside diameter 72.40-72.424 mm (2.8504-2.8513 inch)

Crankshaft
Main bearing journal
Diameter 67.483-67.503 mm (2.6568-2.6576 inch)
Maximum taper 0.004 mm (0.0002 inch)
Maximum-out-of-round 0.0075 mm (0.0003 inch) between cross sections
Journal-to-cylinder block clearance 0.066-0.024 mm (0.0259-0.0009 inch)
Connecting rod journal
Diameter 53.003-52.983 mm (2.0867-2.0859 inch)
Maximum taper (straightness) 0.004 mm (0.0002 inch)
Maximum-out-of-round 0.0075 mm (0.0003 inch) between cross sections
Crankshaft maximum end play 0.301 mm (0.0118 inch)

Piston
Diameter
Grade 1 90.191-90.206 mm (3.5508-3.5514 inch)
Grade 2 90.203-90.220 mm (3.5513-3.5519 inch)
Grade 3 90.217-90.232 mm (3.5518-3.5524 inch)
Piston-to-cylinder bore clearance @ 43 mm from top -0.005 to + 0.025 mm (-0.0002 to + 0.0010 inch)
Ring end gap
Top 0.15-0.30 mm (0.0059-0.0118 inch)
Intermediate 0.15-0.30 mm (0.0059-0.0118 inch)
Oil control 0.15-0.30 mm (0.0059-0.0118 inch)
Ring groove width
Top 1.520-1.540 mm (0.0598-0.0606 inch)
Intermediate 1.520-1.540 mm (0.0598-0.0606 inch)
Oil control 3.03-3.055 mm (0.1193-0.1203 inch)
Ring width
Top 1.5 mm (0.05 inch)
Intermediate 1.5 mm (0.05 inch)
Ring-to-groove clearance
Top 0.020-0.060 mm (0.0008-0.0024 inch)
Intermediate 0.020-0.060 mm (0.0008-0.0023 inch)
Oil control 0.030-0.070 mm (0.0012-0.0028 inch)
Pin bore diameter 22.0065-22.0110 mm (0.8664-0.8666 inch)
Pin
Diameter 21.995-21.997 mm (0.8659-0.8660 inch)
Length 61.870-62.120 mm (2.4358-2.4456 inch)
Pin-to-piston fit 0.0095-0.016 mm (0.0004-0.0006 inch)
Piston-to-connecting rod clearance 6.58-7.58 mm (0.259-0.298 inch)

Connecting Rod
Rod-to-pin clearance 0.016-0.038 mm (0.0006-0.0015 inch)
Pin bore diameter 22.02-22.01 mm (0.8671-0.8666 inch)
Rod length (centerline bore-to-bore) 150.7 mm (5.9330 inch)
Maximum allowable bend ±0.038 mm (0.0015 inch)
Maximum allowable twist ±|0.05 mm (0.0019 inch)
Rod bearing bore diameter 56.86-56.89 mm (2.2388-2.2396 inch)
Rod bearing-to-crankshaft clearance 0.06-0.02 mm (0.0026-0.0010 inch)
Rod side clearance
Standard 0.015-0.45 mm (0.0006-0.0177 inch)
Maximum 0.50 mm (0.0197 inch)








Main Bearing Size Codes





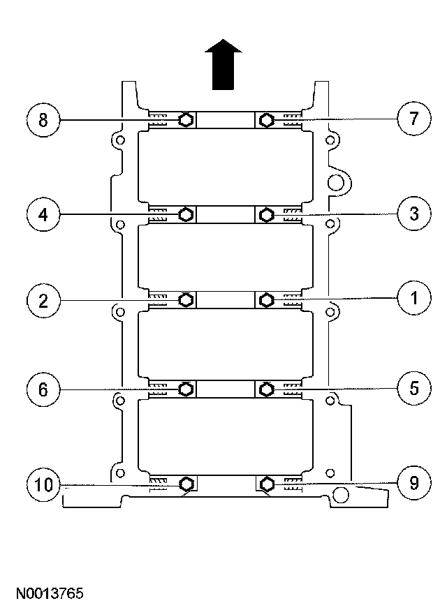
Remove and discard the cross-mounted main cap bolts.

Jack screws
First pass 5 Nm (44 inch lbs.)
Final pass 10 Nm (89 inch lbs.)





Remove and discard the cross-mounted main cap bolts.

Side bolts
First pass 10 Nm (89 inch lbs.).
Final pass 21 Nm (15 ft. lbs.).





Remove and discard the main cap bolts.

Vertical main bearing cap bolts
First pass 40 Nm (30 ft. lbs.)
Final pass tighten 90°

Crankshaft pulley bolt
First pass tighten to 90 Nm (66 ft. lbs.)
Second pass loosen bolt
Third pass tighten to 50 Nm (37 ft. lbs.)
Final pass tighten 90°