Operation CHARM: Car repair manuals for everyone.
Manuals through 2025 now available!

Our trusted friends have launched a new website named LEMON, which has newer manuals. It also contains all the CHARM manuals.

LEMON is the spiritual successor to CHARM, I recommend you try it!

Link: lemon-manuals.la or lemon-manuals.org.ua

(Some people have issue connecting. LEMON is investigating. For now, use Firefox or change your DNS server)

Or, hide this message: temporarily or permanently

Camshaft Synchronizer

CAMSHAFT SYNCHRONIZER


Part 1:






Part 2:






Exploded View


Special Tool(s):






Special Tool(s)

Removal
1. Disconnect the battery ground cable.
2. Drain the cooling system.
3. Disconnect the camshaft position sensor (CMP) electrical connector.
4. Remove the 2 CMP sensor bolts and the CMP sensor.
5. Disconnect the coolant bypass hose from the coolant pump outlet tube.
6. Remove the 2 coolant pump outlet tube bolts and position aside the coolant outlet tube.







7. Remove the accessory drive belt.
- Rotate the accessory drive belt tensioner counterclockwise.
- Push the spring clip toward the belt tensioner to lock the accessory drive belt tensioner in place.

8. NOTE: The bolt that is positioned under the power steering pressure tube fitting will remain with the pump.

Remove the 4 power steering pump bolts and position aside the power steering pump.

9. CAUTION: Do not turn the crankshaft or the camshaft after the No. 1 cylinder is at top dead center (TDC) of the compression stroke or the fuel system timing will be out of time with the engine and possibly cause engine damage.

Rotate the crankshaft until the No. 1 cylinder is at top dead center (TDC) of the compression stroke.

10. Remove the camshaft synchronizer-to-engine front cover bolt.
11. Remove the camshaft synchronizer.
- The oil pump driveshaft might not come out with the camshaft synchronizer. If so, retrieve the oil pump driveshaft before proceeding.

Installation







1. CAUTION:
- After installation, do not loosen the synchronizer bolt and rotate the synchronizer assembly. The synchronizer assembly is not adjustable. Do not loosen the synchronizer bolt after the alignment tool has been removed in order to align the CMP electrical connector for any reason. If the electrical connector is not in the correct position, the synchronizer assembly must be removed, the alignment tool and the assembly reinstalled if the engine has not been rotated from top dead center (TDC) of the compression on the No. 1 cylinder.
- A special tool must be used when installing a synchronizer assembly. Failure to follow this procedure will result in the fuel system being out of time with the engine, possibly causing engine damage.


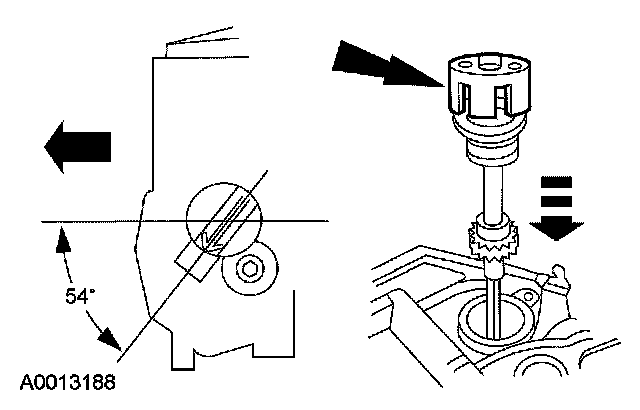
Install the special tool on the camshaft synchronizer by rotating the tool until it engages both the notch in the camshaft synchronizer housing and the notch in the armature.







2. CAUTION: It is very important to coat the gear on the camshaft synchronizer with clean engine oil prior to installation. Failure to do so could result in gear failure.

NOTE: During installation, the arrow on the special tool will rotate clockwise until the oil pump intermediate shaft and camshaft gear engages.

Install the camshaft synchronizer housing assembly so the arrow on the special tool is 54 degrees from the centerline of the engine.

3. Install the camshaft synchronizer-to-engine front cover bolt.
- Tighten to 25 Nm (18 lb-ft).

4. Position the power steering pump and install the 4 bolts.
- Tighten to 25 Nm (18 lb-ft).







5. Install the accessory drive belt.
- Position the accessory drive belt onto the engine.
- Rotate the accessory drive belt tensioner counterclockwise until the spring clip releases.

6. Position the coolant pump outlet tube and install the 2 bolts.
- Tighten to 10 Nm (89 lb-in).

7. Connect the coolant bypass hose to the coolant pump outlet tube.
8. Install the CMP sensor and install the 2 bolts.
- Tighten to 3 Nm (27 lb-in).

9. Connect the CMP electrical connector.
10. Fill and bleed the cooling system.
11. Connect the battery ground cable.