Operation CHARM: Car repair manuals for everyone.
Manuals through 2025 now available!

Our trusted friends have launched a new website named LEMON, which has newer manuals. It also contains all the CHARM manuals.

LEMON is the spiritual successor to CHARM, I recommend you try it!

Link: lemon-manuals.la or lemon-manuals.org.ua

(Some people have issue connecting. LEMON is investigating. For now, use Firefox or change your DNS server)

Or, hide this message: temporarily or permanently

Windshield Glass

WINDSHIELD GLASS


Special Tool(s):






Special Tool(s)







Removal
1. Remove the cowl panel grille.
2. Remove the interior mirror.
3. Remove the LH and RH windshield side garnish mouldings.
4. If equipped, remove the overhead console.
5. Lower the front portion of the headliner.
6. Using a soft brush or vacuum, remove dirt and foreign material from the pinch weld.







7. CAUTION:
- Cover the instrument panel in order to prevent possible damage.
- Care must be used to avoid scratching the pinch weld.
- If equipped, care must be taken to avoid damage to the headliner wiring harness.


NOTE:
- Lubricate the existing urethane adhesive with water to aid the special tool while cutting.
- When cutting foam inside, first cut foam dam to access the urethane adhesive.

Using the special tool and starting at the top center of the windshield glass, cut the urethane adhesive away from the glass and work down the sides.







8. Using the special tool, distance the windshield from the body.
9. Remove the dual lock windshield glass stops from the sheet metal frame.
10. Using the special tool, cut the remaining urethane adhesive and remove the windshield.
11. Using a soft brush or vacuum, remove dirt and foreign material from the pinch weld.

Installation

CAUTION: After installing the new windshield glass, the vehicle should not be driven until the urethane adhesive has cured. Refer to the drive away chart for the cure times as the temperatures and humidity vary. Inadequate curing of the urethane adhesive may adversely affect the strength of the urethane adhesive bond.

1. Dry fit the new windshield glass to the existing urethane bed on the body pinch weld. Align the windshield in the opening for uniform fit and adjust the setting blocks as needed for the best fit.
2. Use tape or non-permanent marking pencil to make alignment marks on the windshield (preferably at the setting blocks) and the body to aid in the installation alignment of the new windshield.
3. After alignment, remove the windshield glass and molding assemblies from the vehicle and place it on a stable work surface.







4. CAUTION: Care must be taken to avoid scratching the pinch weld.

Trim the remaining urethane adhesive on the pinch weld. The urethane must be smooth and free of cuts and contamination after trimming. Avoid touching the urethane surface after preparation.

5. WARNING: Any rust on the pinch weld must be removed and the pinch weld restored to OEM specifications. If surface rust is present, remove it completely down to clean, bare metal. Prime the pinch weld metal with an OEM recommended curing automotive paint primer and allow to cure correctly. If rust has penetrated through the pinch weld metal, repair the pinch weld sheet metal at a body shop before proceeding. Failure to follow these instructions may result in personal injury.

Check the pinch weld for damaged sheet metal, raised sheet metal at the spot welds and rust or foreign material that may cause glass breakage. Clean or repair surface as necessary.

6. Clean the inside of the glass surface with a non-alcohol based window cleaner to make sure the ceramic-coated area is clean.

7. NOTE: If the moulding is already on the windshield glass, proceed to the next step.

Align the "V" notch in the ceramic paint and windshield outside molding at top center. Fully seat the windshield outside molding along the top edge of the windshield glass and along the sides and bottom edges of the windshield glass.

8. Remove the dual lock windshield glass stop adhesive backing.

9. CAUTION: Be sure to use the same brand and cure-rate products for the adhesive and primer. Do not mix different brands of urethane and primer. Refer to the Material Chart.


NOTE: Sika use the same black primer for the glass and pinch weld area.

If installing a new windshield glass, apply urethane glass primer according to manufacturer's instructions. Allow at least 6 minutes to dry.







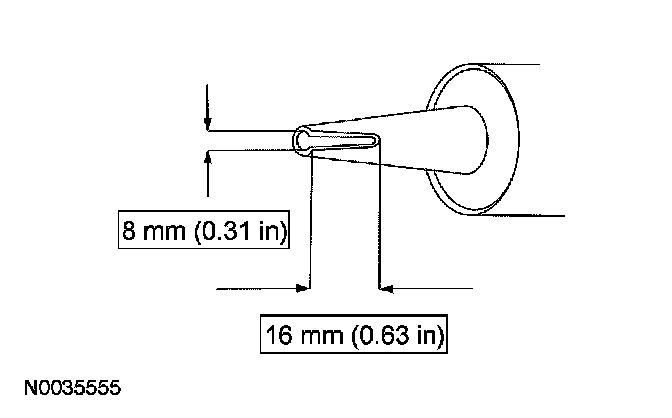
10. Cut the urethane adhesive applicator tip to specification.







11. Apply a bead of urethane adhesive to the pinch weld.

12. CAUTION: Open the windows to prevent the windshield glass from being pushed out by air pressure if a door is closed.

Install the windshield glass on the pinch weld. Align the windshield glass to the body using the alignment marks while pushing downward to set the stops.

13. Inspect the windshield glass installation for air or water leaks and add urethane adhesive where needed.
14. To avoid misalignment while the urethane cures, secure the windshield in position with 2 strips of tape at the top of the windshield.