Operation CHARM: Car repair manuals for everyone.
Manuals through 2025 now available!

Our trusted friends have launched a new website named LEMON, which has newer manuals. It also contains all the CHARM manuals.

LEMON is the spiritual successor to CHARM, I recommend you try it!

Link: lemon-manuals.la or lemon-manuals.org.ua

(Some people have issue connecting. LEMON is investigating. For now, use Firefox or change your DNS server)

Or, hide this message: temporarily or permanently

Disassembly Reassembly Steps






Disassembly steps

1. Generator pulley
2. Rotor assembly
3. Rear bearing
4. Bearing retainer
5. Front bearing
6. Front bracket
7. Stator
8. Terminal
9. Plate
10. Regulator and brush holder
11. Brush
12. Brush spring
13. Slinger
14. Rectifier
15. Rear bracket






SERVICE POINTS OF DISASSEMBLY
SEPARATION OF THE STATOR AND FRONT BRACKET
Insert plain screwdriver between front bracket and stator core and pry downward.

Caution: Do not insert screwdriver too deep, as there is danger of damage to stator coil.

Generator Pulley Removal:






1. REMOVAL OF GENERATOR PULLEY
(1) Clamp the rotor in a vise with soft jaws.
(2) After removing the nut, remove the pulley and front bracket from the rotor.

REMOVAL OF STATOR






(1) When removing stator, unsolder three stator leads soldered to main diodes on rectifier.
(2) When removing rectifier from brush holder, unsolder two soldered points to rectifier.

Caution:
(1) When soldering or unsoldering, use care to make sure that heat of soldering iron is not transmitted to diodes for a long period. Finish soldering or unsoldering in as short a time as possible.
(2) Use care that no undue force is exerted to leads of diodes.

INSPECTION
ROTOR

Rotor:






(1) Check rotor coil for continuity Check to ensure that there is continuity between slip rings. If resistance is extremely small, it means that there is a short. If there is no continuity or if there is short circuit, replace rotor assembly.
Resistance value: Approx. 3-5 Ohms.

Rotor:






(2) Check rotor coil for grounding. Check to ensure that there is no continuity between slip ring and core. if there is continuity, replace rotor assembly.

STATOR
(1) Make continuity test on stator coil. Check to ensure that there is continuity between coil leads. If there is no continuity, replace stator assembly.

Stator:






(2) Check coil for grounding. Check to ensure that there is no continuity between coil and core. If there is continuity, replace stator assembly.

RECTIFIERS

Positive Rectifier Test:






(1) Positive Rectifier Test
Check for continuity between positive rectifier and stator coil lead connection terminal with a circuit tester. If there is continuity in both directions, diode is shorted. Replace rectifier assembly.

Negative Rectifier Test:






(2) Negative Rectifier Test
Check for continuity between negative rectifier and stator coil lead connection terminal. If there is continuity in both direction, diode is shorted, and rectifier assembly must be replaced.

Diode Trio Test:






(3) Diode Trio Test
Check three diodes for continuity by connecting an ammeter to both ends of each diode. If there is no continuity in both directions, diode is faulty and heatsink assembly must be replaced.






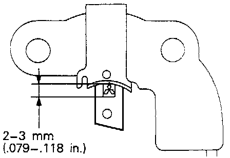
BRUSH REPLACEMENT
(1) Replace brush by the following procedures if it has been worn to limit line.






(2) Unsolder pigtail and remove old brush spring.
(3) Install brush spring and new brush in brush holder.






(4) Insert the brush to where there is a space 2 to 3 mm (.079 to .1 18 in.) between the limit line and the end of the brush holder.






(5) Solder pigtail to brush holder as shown in the illustration.

SERVICE POINTS OF REASSEMBLY
2. INSTALLATION OF ROTOR ASSEMBLY






Before rotor is attached to rear bracket, insert wire through small hole made in rear bracket to lift brush. After rotor has been installed, remove the wire.