Operation CHARM: Car repair manuals for everyone.
Manuals through 2025 now available!

Our trusted friends have launched a new website named LEMON, which has newer manuals. It also contains all the CHARM manuals.

LEMON is the spiritual successor to CHARM, I recommend you try it!

Link: lemon-manuals.la or lemon-manuals.org.ua

(Some people have issue connecting. LEMON is investigating. For now, use Firefox or change your DNS server)

Or, hide this message: temporarily or permanently

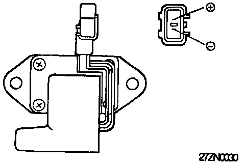
Ignition Coil: Testing and Inspection

INSPECTION





1. Measurement of the primary coil resistance. Measure the resistance of the positive (+) terminal and negative (-) of the Ignition Coil.

Resistance: 0.8 ± 0.08 ohms.

2. Measurement of the secondary coil resistance. Measure the resistance of the positive (+) terminal and the high voltage terminal.

Resistance: 12.1 ± 1.8 k ohms.

3. If specifications are not met, replace the Ignition Coil.