Emissions - Revised Digital Wiring Circuit Code 32
89pontiac26Bulletin Number: 90-6-9A
Reference Number: 916527R
Publish Date: 12/89
Subject: SERVICE MANUAL UPDATE - SECTION 6E3 - REVISED DIGITAL EGR WIRING CIRCUIT
Models
Affected: 1990 6000 AND GRAND PRIX 3.1L (VIN T)
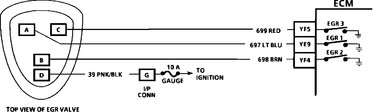
Figure 1 - 6000 Model:
Figure 2 - Grand Prix Model:
This bulletin cancels and replaces bulletin 90-6-9 issued 10/89. This bulletin serves to revise previous artwork. Although the EGR circuits were correctly identified in the artwork, the circuit connector terminal locations on the EGR valve require revision.
Use this bulletin to revise the facing page schematics found in the "Driveability And Emissions" Sections 6E3-A (Code 32) and 6E3-C7 of the 1990 3.1L 6000 and the Grand Prix models Service Manuals.
The correct circuit identification and EGR valve connector terminal locations are shown in the attached illustrations.