Operation CHARM: Car repair manuals for everyone.
Manuals through 2025 now available!

Our trusted friends have launched a new website named LEMON, which has newer manuals. It also contains all the CHARM manuals.

LEMON is the spiritual successor to CHARM, I recommend you try it!

Link: lemon-manuals.la or lemon-manuals.org.ua

(Some people have issue connecting. LEMON is investigating. For now, use Firefox or change your DNS server)

Or, hide this message: temporarily or permanently

ABS/TCS System Description Part 1

Part 1
The ABS VI/TCS Antilock Braking System with the optional Traction Control System (TCS) consists of the following components:
- A conventional hydraulic brake system
- Antilock components
- Traction control components
The conventional brake system includes the following components:
- A vacuum power booster
- A master cylinder
- Front disc brakes
- Rear drum brakes
- Interconnecting hydraulic brake lines
- A low fluid sensor
- A red BRAKE warning indicator
The ABS VI includes the following components:
- An ABS brake modulator/brake motor pack assembly
- An electronic brake control module (EBCM)
- An electronic brake control relay
- Four wheel speed sensors
- The interconnecting wiring
- An amber ABS warning indicator
The ABS VI with the optional TCS includes the following components:
- Separate ABS and TCS modulator/motor pack assemblies
- An electronic brake traction control module (EBTCM)
- Four wheel speed sensors
- An electronic brake control relay
- A TCS switch
- An amber ABS warning indicator
- An amber TCS indicator
- A common ABS/TCS active indicator (LOW TRACTION)
- A discrete lamp driver module (LDM) for the TCS indicator
- The interconnecting wiring

ABS Brake Modulator/Brake Motor Pack Assembly
The ABS Brake Modulator/Brake Motor Pack Assembly controls hydraulic pressure to the following areas:
- The front calipers
- The rear calipers or the rear wheel cylinders
The ABS Brake Modulator/Brake Motor Pack Assembly controls hydraulic pressure by modulating the hydraulic pressure. This action prevents wheel lock-up. The basic ABS brake modulator configuration consists of the following components:
- The gear subassemblies
- The ball screws
- The nuts
- The pistons
- The hydraulic check valves
The ABS brake motor pack consists of the following components:
- Three motors
- Three drive gears
- Three ESBs
Refer to Base Brake System and Antilock Brake System for more information.

TCS Modulator/Motor Pack Assembly
The TCS Modulator/Motor Pack Assembly controls drive the wheel slip during acceleration by modulating brake pressure to the drive wheels. This action prevents slip.
The basic TCS modulator configuration consists of the following components:
- The gear assemblies
- The ball screws
- The nuts
- The pistons
- The hydraulic poppet valves
The motor pack consists of the following components:
- Two motors
- Two drive gears
Refer to Base Brake System or Traction Control System for more information.

Electronic Brake Control Module/Electronic Brake Traction Control Module (EBCM/EBTCM)

NOTICE: There is no serviceable or removable PROM. The EBCM/EBTCM must be replaced as an assembly.
The Electronic Brake Control Module/Electronic Brake Traction Control Module (EBCM/EBTCM) controls the ABS VI. A microprocessor controls the EBCM/EBTCM.
The inputs to the system include the following components:
- The four wheel speed sensors
- The brake switch
- The ignition switch
- The unswitched battery voltage
- The serial data communications with the PCM (with the TCS)
The outputs include the following components:
- Three bi-directional motor controls (5 with the TCS)
- Four indicator controls (5 with the TCS)
- Two solenoid controls (ABS)
- A system enable relay
A serial data line is provided for service diagnostic tools and assembly plant testing. The serial data line is located in terminal 9 of the Data Link Connector (DLC). The EBCM/EBTCM monitors the speed of each wheel.
The EBCM/EBTCM controls the motors and the solenoids in order to reduce brake pressure to a particular wheel when the following conditions exist:
- The wheel is approaching lock-up.
- The brake switch is on.
When the wheel regains traction the brake pressure increases until the wheel approaches lock-up again. This cycle will repeat until one of the following conditions exists:
- The vehicle comes to a stop.
- The brake releases.
- The wheel no longer approaches lock-up.
The EBTCM send commands to the PCM and to the TCS motors when the following conditions exist:
- One or more of the drive wheels accelerates too rapidly.
- The brake switch is off.
When the above conditions exist, the EBTCM sends commands to the PCM to reduce engine torque. When the above conditions exist the EBTCM sends commands to the TCS motors to apply and release the brakes several times per second. This action reduces the driven wheel speed to a speed that is a prescribed amount greater than the nondriver wheel speed. The following actions will occur when the wheel regains traction:
- Brake pressure will decrease
- Engine torque reduction will no longer be requested
This cycle repeats until traction control is no longer necessary.
The EBCM/EBTCM monitors the following components for proper operation:
- Itself
- Each of the inputs (except for the serial data line)
- Each of the outputs
If a system malfunction is detected the EBCM/EBTCM will store a Diagnostic Trouble Code (DTC) in nonvolatile memory (i.e., the DTC will not disappear if the battery is disconnected.)
Refer to Self-Diagnostics for more information.

Front Wheel Speed Sensors
Each of the front wheel speed sensors consists of a variable reluctance sensor.
The sensor and the toothed ring are part of the sealed hub and bearing unit. Being part of the sealed hub and bearing unit allows improved environmental protection and easier assembly.

When teeth pass by the sensor, the sensor generates an AC voltage that has a frequency proportional to the speed of the wheel.
The sensor is not repairable.

The air gap is not adjustable.
The sensor and the toothed ring cannot be serviced separately from the hub and bearing assembly.

The entire integral bearing/sensor unit must be replaced if a front wheel speed sensor fails.

Rear Wheel Speed Sensors
The rear wheel speed sensors operate in the same manner as the front wheel speed sensors.
The rear wheel speed sensors and the toothed ring are contained within the dust cap of the integral rear wheel bearing. This allows approved environmental protection and easier assembly.

The sensor and the toothed ring are not repairable.
The air gap cannot be adjusted.

The entire integral bearing and speed sensor unit must be replaced if a rear wheel speed sensor fails.
Refer to Wheel Speed Sensor Replacement (Flight Front).

Electronic Brake Control Relay
The Electronic Brake Control Relay is a normally-open contact type.
The Electronic Brake Control Relay has special contact material to handle the high currents required for the ABS VI/TCS operation.
The relay allows battery voltage and current to be supplied to the EBCM/EBTCM. The EBCM/EBTCM supplies power to the motors and the solenoids.

TCS Switch
The TCS switch is a momentary contact switch. The TCS switch enables or disables the traction control system.
The switch assembly consists of the following components:
- A momentary contact press button switch
- An indicator lamp
The switched can be pressed in order to enable or disable the TCS during an ignition cycle.
Each key-on resets the TCS to enable. Resetting the TCS to enable ensures a consistent state at start-up.
The indicator lamp illuminates when the system enables.
The TCS disables when the TCS enable switch depresses.
The indicator lamp in the switch assembly turns off when the TCS switch is depressed by the driver.

Brake Fluid Level Indicator Sensor
Refer to Fluid Level Switch in Hydraulic Brakes.

Wiring Harness
The wiring harness is the mechanism which electrically connects the EBCM/EBTCM to the following components:
- The power and the ground
- The wheel speed sensors
- The motors
- The solenoids
- The fuses
- The switches
- The indicators
- The electronic brake control relay
- The serial communications port
The wiring harness consists of the following components:
- The wires that provide electrical interconnection
- The connectors/terminals that provide an electrical/mechanical interface from each wire to a system component

Wheel Speed Sensor Jumper Harness
A jumper harness located between each wheel speed sensor and the main wiring harness.
Each jumper harness is made of highly flexible twisted pair wiring.
The wiring exists because the main harness must connect to the suspension of the vehicle. Therefore, the wiring in this area is subjected to the same motion as a spring or a shock absorber. Any repair to this section of wiring will result in stiffening. Stiffening will eventually result in failure due to wire fatigue.

The wheel speed sensor jumper harnesses are not repairable and must be replaced. Do not attempt to solder, splice, or crimp the harnesses. Eventual failure will occur.
Refer to Wheel Speed Sensor Jumper Harness Replacement (Left Front) and Wheel Speed Sensor Jumper Harness Replacement (Left Rear)

Warning Indicators

CAUTION: The braking system may not be working properly if the ABS warning indicator is flashing. Driving with a flashing ABS warning indicator can lead to an accident. If the ABS warning indicator is flashing, pull safely off the road and have the vehicle towed for service.

The Electronic Brake Control Module/Electronic Brake Traction Control Module (EBCM/EBTCM) continuously monitors itself and other ABS/TCS components.
If the EBCM/EBTCM detects a problem with the system the amber ABS warning indicator will either flash or light continuously (solid indicator) in order to alert the driver of the problem.

The amber ABS warning indicator will flash if the EBCM/EBTCM attempts to turn on following indicators at the same time but is unable to do so:
- The red BRAKE warning indicator
- The amber ABS warning indicator
The amber ABS warning indicator flashes to warn the driver of an existing ABS malfunction which may have degraded the base brake performance. In this situation the vehicle must be serviced immediately in order to regain full base and ABS operation.

A solid amber ABS warning indicator indicates that a problem has been detected. The problem is one that affects the operation of the ABS. In this situation, no antilock braking or traction control will be available. Normal (non-antilock) brake performance will still be available.

The ABS VI/TCS must be serviced in order to regain ABS braking ability and electronic traction control (if equipped).
If the EBTCM detects a malfunction with the TCS the amber TCS indicator will illuminate in order to alert the driver of the malfunction. A solid amber TCS indicator indicates the detection of a malfunction that affects the operation of the TCS. In this situation traction control will not be available. The base braking and the ABS will still be available.

The following indicators will illuminate any time when the EBTCM suspects that the ABS operation is degraded because of a system malfunction:
- The amber ABS warning indicator
- The amber TCS indicator
The red BRAKE warning indicator illuminates when the following conditions exist:
- The fluid level in the master cylinder is low
- The parking brake switch is closed
- The bulb test switch section of the ignition switch is closed
- Certain ABS/TCS DTCs are set
(This is controlled by the EBCM/EBTCM).
The red BRAKE warning indicator alerts the driver that a base brake problem may exist.
The amber LOW TRACTION indicator illuminates in order to alert the driver that the ABS is active. Whenever the EBCM/EBTCM determines that the vehicle has entered a braking event that requires the ABS, the amber LOW TRACTION indicator will turn on. The amber LOW TRACTION indicator will remain on for approximately 3 to 4 seconds after the ABS event is completed.
The amber LOW TRACTION indicator illuminates in order to alert the driver of a low traction situation. The amber LOW TRACTION informs the driver that the TCS is operating. The amber LOW TRACTION indicator will remain on for approximately 3 to 4 seconds after the TCS event is completed.
When the EBTCM receives power (the ignition is placed in the RUN or the START position) the EBTCM will command the LOW TRACTION indicator to turn on for three seconds. This action is a bulb check procedure.

Malfunction Indicator Lamp Traction Control Module
Vehicles equipped with traction control have a lamp driver module that controls the TCS indicator.
The Malfunction Indicator Lamp Traction Control Module contains electronic components that turn the TCS indicator on unless the EBTCM provides a ground in order to turn it off.
The TCS will remain on until the EBTCM commands the TCS indicator off.

Fuses and Fusible Links
The power distribution system of the vehicle consists of the following components:
- The fuses
- The fusible links
- The circuit breakers
- The ignition switch
Fusible links are short pieces of wire that are several sizes smaller than the circuit wire that supply power. They are covered with special high temperature insulation.
When the fusible links are conducting an improperly high current flow they will melt and stop the current flow.
The fusible links are designed to protect the vehicle's electrical system from the electrical shorts in the circuits that are not protected by the circuit breakers or fuses.
Refer to Power Distribution Cell 10 and Fuse Block Details Cell 11 in Diagnostic Aids for fuse and fusible link locations.

ABS/TCS SYSTEM OPERATION


Base Brake System
The brake systems use conventional braking under normal operating conditions. The following components are necessary for operation of conventional braking:
- The brake pedal force
- The vacuum booster
- The compact master cylinder
The brake fluid flows through the following areas in order to reach the front wheels:
1. The master cylinder
2. The ABS hydraulic modulator
3. The TCS hydraulic modulator
The brake fluid flows through the following areas in order to reach the rear wheels:
1. The master cylinder
2. The ABS hydraulic modulator

ABS Modulator Fluid Flow
Each front channel consists of the following components:
- A motor
- A solenoid
- An Expansion Spring Brake (ESB)
- A ball screw
- A piston
- A check valve

Front Base Braking Mode (Typical)





The following conditions exist under normal operating conditions (base brakes):
- The piston remains in the highest (home) position.
- The solenoid remains open (not energized).
The following actions permit the above conditions to exist:
- The motor turns the ball screw upward which then drives the nut upward.
- The Expansion Spring Brake (ESB) holds the piston at the utmost position.
The two following paths permit transfer of braking pressure to the TCS modulator:
- Through the modulator, around the check valve. and out to the TCS modulator
- Through the modulator, past the normally open solenoid, and out to the TCS modulator
The solenoids in the front circuit provide an alternate brake pressure path to the TCS modulator. If the ABS loses power or malfunction with the ABS piston out of the ABS piston home position, a redundant brake path is available.

The operation of the rear channels is similar to operation of the front channels except for the following differences:
- No solenoid exists.
- The fluid flows directly from the ABS modulator to the rear wheels.

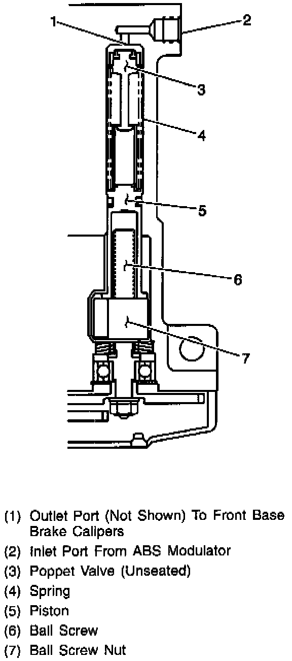
TCS Modulator Fluid Flow
Each TCS channel consists of the following components:
- A motor
- A piston
- A ball screw
- A spring
- A poppet valve

TCS Modulator Base Braking Mode (Typical)





The following conditions exist during normal operating conditions (base brakes):
- The piston remains in the downward (home) position.
- The poppet valve remains unseated.
The following actions permit the above conditions to exist:
- The motor turns the ball screw.
- Turning the ball screw drives the nut downward.
The brake fluid flows along the following path:
- Through the inlet port of the TCS modulator
- Past the unseated poppet valve
- Through the outlet port of the TCS modulator
- Out to the front calipers
There are no solenoids or ESBs within the TCS modulator.

Antilock Brake System (ABS)
The ABS VI improves the controllability and the steerability of a vehicle during braking. The ABS VI improves the controllability and steerability by controlling the hydraulic pressure that applies to each wheel brake.
Antilock braking occurs when the following conditions exist:
- The brake switch closes.
- A microprocessor (which is located in the EBCM/EBTCM) determines that one or more of the wheels is about to lose traction during braking.
When the above conditions exist, the EBCM/EBTCM allows the ABS brake modulator to change the brake pressure several times per second.
The above action causes the following conditions:
- The wheels cannot lock.
- The driver has maximum vehicle control.
The ABS VI cannot perform the following actions:
- Increase the brake pressure above the master cylinder pressure that the driver applies
- Apply the brakes by itself
The ABS VI provides the following conditions:
- Greatly improved braking that enables the driver to maintain steerability and to bring the vehicle to a controlled stop.
- Effective braking and directional control over a wide range of road surfaces and braking conditions.
If any wheel(s) begin to approach lock-up, the EBCM/EBTCM will control the following components in order to control the brake pressure to the affected wheel(s):
- The three motors
- The two solenoids