Operation CHARM: Car repair manuals for everyone.
Manuals through 2025 now available!

Our trusted friends have launched a new website named LEMON, which has newer manuals. It also contains all the CHARM manuals.

LEMON is the spiritual successor to CHARM, I recommend you try it!

Link: lemon-manuals.la or lemon-manuals.org.ua

(Some people have issue connecting. LEMON is investigating. For now, use Firefox or change your DNS server)

Or, hide this message: temporarily or permanently

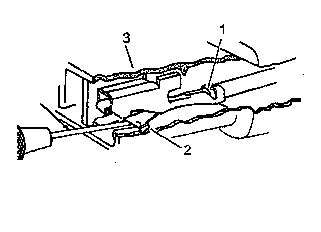
Terminal Removal

Follow the steps below in order to repair pull-to-seat connectors.




1. Remove the Terminal Position Assurance (TPA) device, the Connector Position Assurance (CPA) device, and/or the secondary lock.
2. Separate the connector halves.
3. Using the proper pick or removal tool (4) insert into the front of the connector body.
4. Grasp the wire at the back of the connector body and gently pull the terminal (1) from the connector body (3).
5. Inspect the terminal for damage, if damaged refer to Terminal Repair.
6. Reform the locking tang (2) if the terminal is being reused.