Operation CHARM: Car repair manuals for everyone.
Manuals through 2025 now available!

Our trusted friends have launched a new website named LEMON, which has newer manuals. It also contains all the CHARM manuals.

LEMON is the spiritual successor to CHARM, I recommend you try it!

Link: lemon-manuals.la or lemon-manuals.org.ua

(Some people have issue connecting. LEMON is investigating. For now, use Firefox or change your DNS server)

Or, hide this message: temporarily or permanently

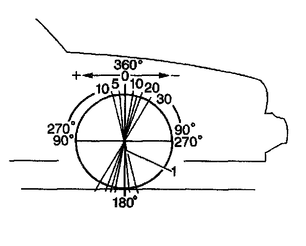
Caster Description





Caster is the tilting of the uppermost point of the steering axis, either forward or backward from the vertical, when viewed from the side of the vehicle. A backward tilt at the top is positive (+) and a forward tilt is negative (-). Caster influences the directional control of the steering, but caster does not affect tire wear. One wheel with more positive caster than the other wheel causes that wheel to pull toward the center of the vehicle. The vehicle will move or lead toward that side with the least amount of positive caster.