Operation CHARM: Car repair manuals for everyone.
Manuals through 2025 now available!

Our trusted friends have launched a new website named LEMON, which has newer manuals. It also contains all the CHARM manuals.

LEMON is the spiritual successor to CHARM, I recommend you try it!

Link: lemon-manuals.la or lemon-manuals.org.ua

(Some people have issue connecting. LEMON is investigating. For now, use Firefox or change your DNS server)

Or, hide this message: temporarily or permanently

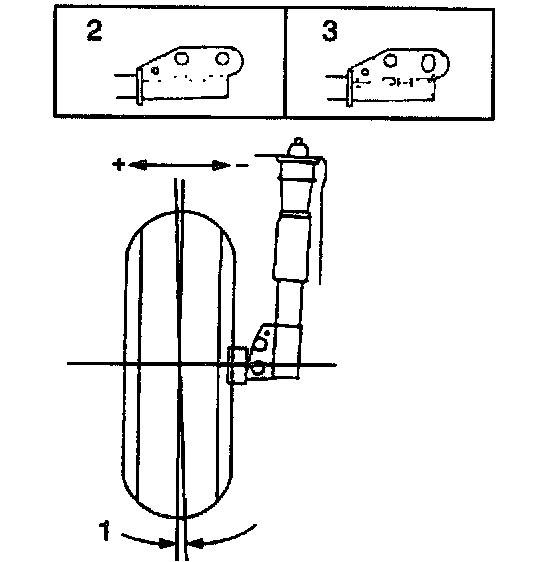
Rear Camber Adjustment

REMOVAL PROCEDURE





1. Raise the vehicle and provide suitable support. Refer to Vehicle Lift Points.
2. Remove the tire and wheel assemblies. Refer to Tire and Wheel Removal and Installation in Wheels, Tires and Alignment.
3. Remove the strut from the vehicle. Refer to Strut Assembly Replacement in Rear Suspension.
4. Place the strut in a vise and file the upper strut-to-knuckle hole lateral (oblong). Compare the appearance of the holes before filing (2) with after filing (3).

INSTALLATION PROCEDURE

NOTICE: Refer to Fastener Notice Fastener Notice in Service Precautions.





1. Install the strut to the vehicle. Refer to Strut Assembly Replacement in Rear Suspension.
- Tighten the strut-to-knuckle bolts as far as to allow movement of the knuckle.
2. Install the tire and wheel assemblies. Refer to Tire and Wheel Removal and Installation in Wheels, Tires and Alignment.
3. Adjust the camber (1).
- Tighten the strut-to-knuckle bolts to 122 Nm (90 ft. lbs.)
4. Lower the vehicle.