Operation CHARM: Car repair manuals for everyone.
Manuals through 2025 now available!

Our trusted friends have launched a new website named LEMON, which has newer manuals. It also contains all the CHARM manuals.

LEMON is the spiritual successor to CHARM, I recommend you try it!

Link: lemon-manuals.la or lemon-manuals.org.ua

(Some people have issue connecting. LEMON is investigating. For now, use Firefox or change your DNS server)

Or, hide this message: temporarily or permanently

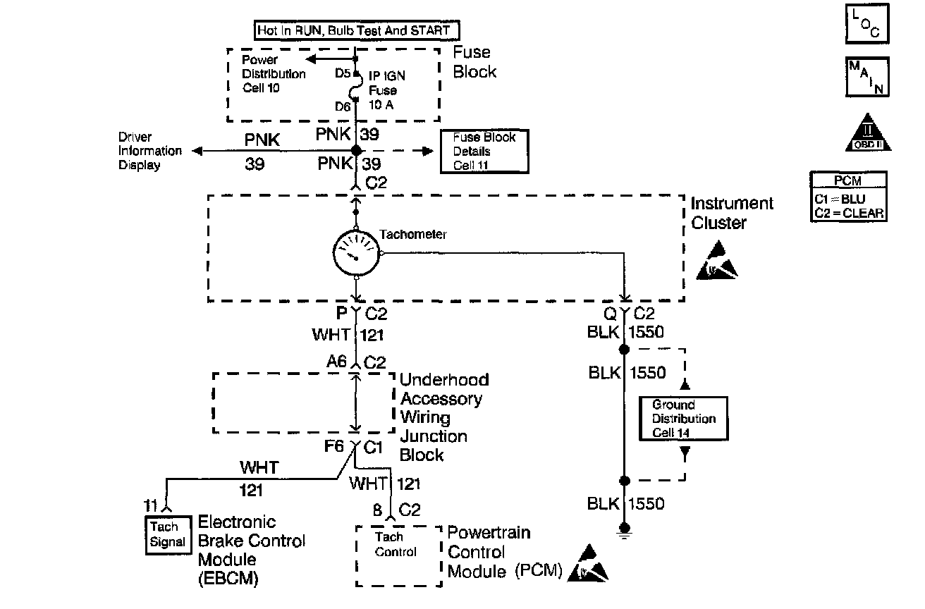
PCM Controlled Tachometer Diagnosis












Circuit Description

The PCM supplies the ground to energize the Instrument Cluster tachometer. When the ignition switch is first turned on the PCM grounds the tachometer circuit. The circuit will remain grounded until the PCM receives the first 18X reference pulse. Once the 18X reference pulse is received, the PCM controls the pulse frequency in relationship to engine RPM. The tachometer is controlled at a rate of two pulses per crankshaft revolution.

Diagnostic Aids

Check for the following conditions:

^ Poor connection at the PCM or instrument cluster. Inspect the harness connectors for backed out terminals, improper mating, broken locks, improperly formed or damaged terminals, and poor terminal to wire connection.
^ Damaged harness. Inspect the wiring harness for damage. If the harness appears to be OK, disconnect the PCM, turn the ignition ON and observe voltmeter connected to the tachometer control circuit at the PCM harness connector while moving connectors and wiring harnesses related to the tachometer control circuit. A change in voltage will indicate the location of the fault.

Test Description

Number(s) below refer to the step number(s) on the Diagnostic Table.

3. Normally, ignition feed voltage should be present on the output driver circuit with the PCM disconnected and the ignition turned ON.
4. Checks for a shorted component or a short to B+ on the output driver circuit. Either condition would result in a measured current of over 0.5 amps.
5. Checks for a faulty instrument cluster.
16. This vehicle is equipped with a PCM which utilizes an Electrically Erasable Programmable Read Only Memory (EEPROM). When the PCM is being replaced, the new PCM must be programmed.