Operation CHARM: Car repair manuals for everyone.
Manuals through 2025 now available!

Our trusted friends have launched a new website named LEMON, which has newer manuals. It also contains all the CHARM manuals.

LEMON is the spiritual successor to CHARM, I recommend you try it!

Link: lemon-manuals.la or lemon-manuals.org.ua

(Some people have issue connecting. LEMON is investigating. For now, use Firefox or change your DNS server)

Or, hide this message: temporarily or permanently

With Traction Control, Electronic




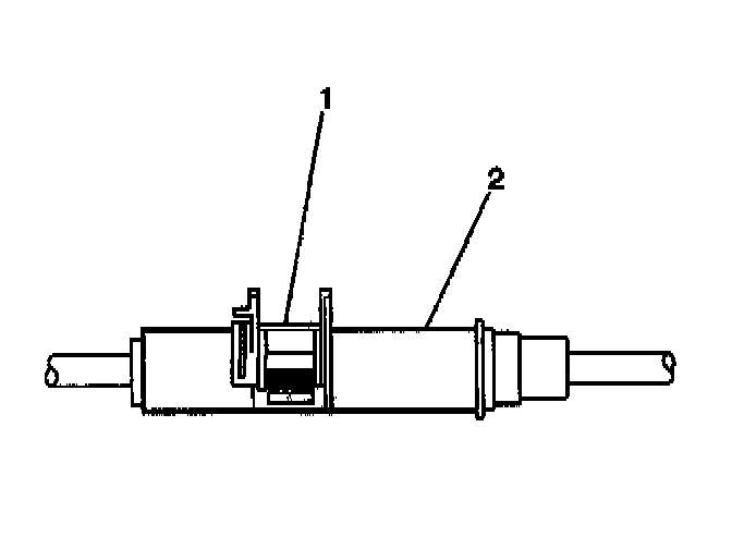
1. Lift the adjustment lock button (1) up.
2. Pull the cable adjustment slider (2) rearward until all slack is removed from cable, but without opening the throttle.




3. Push down the cable adjustment lock button (1) until it snaps and locks in place

IMPORTANT: Ensure that cable is correctly adjusted to avoid excess slack which will cause degraded cruise and traction control performance and inability to achieve wide open throttle. If cables are set too tight the throttle will not fully close.

4. Ensure that the locking tabs are secure on both sides.