Operation CHARM: Car repair manuals for everyone.
Manuals through 2025 now available!

Our trusted friends have launched a new website named LEMON, which has newer manuals. It also contains all the CHARM manuals.

LEMON is the spiritual successor to CHARM, I recommend you try it!

Link: lemon-manuals.la or lemon-manuals.org.ua

(Some people have issue connecting. LEMON is investigating. For now, use Firefox or change your DNS server)

Or, hide this message: temporarily or permanently

Scan Tool Testing and Procedures

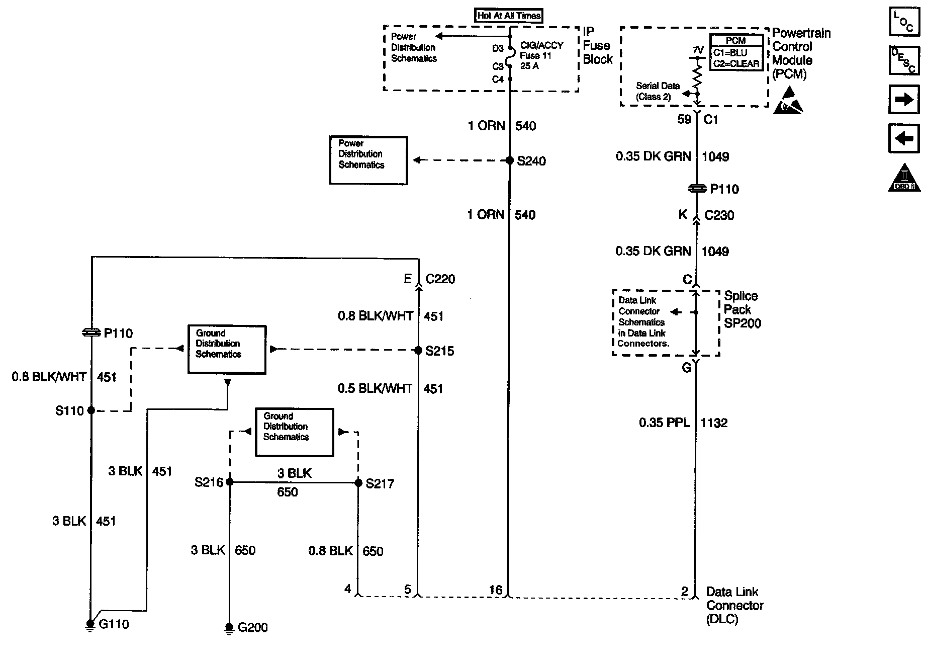
Engine Controls Schematics: Class 2 Serial Data Line:






CIRCUIT DESCRIPTION
The Class 2 serial data circuit to the DLC allows bi-directional communication between the PCM and the scan tool. If communication between the scan tool and the PCM cannot be established, the procedure in the DLC Diagnosis table should be used to diagnose the condition.

DIAGNOSTIC AIDS
Inspect for the following:
^ For the PCM to establish communication with the scan tool, system voltage must be between 9.0 and 16.0 volts. If system voltage is not within this range, refer to Symptoms - Engine Electrical in Starting and Charging. Symptom Related Diagnostic Procedures
^ Ensure that the correct application (model year, carline, VIN code) has been selected on the scan tool. If communication still cannot be established try the scan tool on another vehicle to ensure that the scan tool or cables are not the cause of the condition.

IMPORTANT: Remove any debris from the connector surfaces before servicing a component. Inspect the connector gaskets when diagnosing or replacing a component. Ensure that the gaskets are installed correctly. The gaskets prevent contaminate intrusion.

^ Poor terminal connection.
Inspect the harness connectors for backed out terminals, improper mating, broken locks, improperly formed or damaged terminals, and faulty terminal to wire connection. Use a corresponding mating terminal to test for proper tension. Refer to Testing for Intermittent and Poor Connections and Connector Repairs in Diagrams.
^ Damaged harness.
Inspect the wiring harness for damage. If the harness appears to be OK, observe the display on the scan tool while moving connectors and wiring harnesses related to the sensor. A change in the display may indicate the location of the fault. Refer to Wiring Repairs in Diagrams.
^ Inspect the PCM and the engine grounds for clean and secure connections.

If the DTC is determined to be intermittent, reviewing the Failure Records can be useful in determining when the DTC was last set.

TEST DESCRIPTION

Diagnostic Chart:






The number below refers to the step number on the diagnostic table:
4. The serial data circuit voltage will constantly vary and should measure between 0.5 and 3.0 volts.
11. This vehicle is equipped with a PCM which utilizes an Electrically Erasable Programmable Read Only Memory (EEPROM). When the PCM is replaced, the new PCM must be programmed.