Operation CHARM: Car repair manuals for everyone.
Manuals through 2025 now available!

Our trusted friends have launched a new website named LEMON, which has newer manuals. It also contains all the CHARM manuals.

LEMON is the spiritual successor to CHARM, I recommend you try it!

Link: lemon-manuals.la or lemon-manuals.org.ua

(Some people have issue connecting. LEMON is investigating. For now, use Firefox or change your DNS server)

Or, hide this message: temporarily or permanently

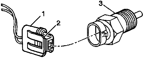
Coolant Temperature Sensor/Switch (For Computer): Description and Operation




The Engine Coolant Temperature (ECT) sensor is a thermistor, a resistor which changes value based on temperature, mounted in the engine coolant stream.




Low coolant temperature produces a high resistance,100,000 ohm at -40°C(-40°F) while high temperature causes low resistance,70 ohm at 130°C(266°F).




The Powertrain Control Module (PCM) supplies a 5.0 volt signal to the engine coolant temperature sensor through a resistor in the PCM and measures the voltage. The voltage will be high when the engine is cold, and low when the engine is hot. By measuring the voltage, the PCM calculates the engine coolant temperature. Engine coolant temperature affects most systems the PCM controls.




The scan tool displays engine coolant temperature in degrees. After engine start-up, the temperature should rise steadily to about 90 °C (194°F) then stabilize when the thermostat opens. If the engine has not been run for several hours, the engine coolant temperature and intake air temperature displays should be close to each other. A hard fault in the engine coolant sensor circuit should set DTC P0117 Engine Coolant Temperature (ECT) Sensor Circuit Low Voltage or DTC P0118 Engine Coolant Temperature (ECT) Sensor Circuit High Voltage, an intermittent fault should set a DTC P1114 Engine Coolant Temperature (ECT) Sensor Circuit Intermittent Low Voltage or DTC P1115 Engine Coolant Temperature (ECT) Sensor Circuit Intermittent High Voltage.

The ECT sensor (3) also contains another circuit which is used to operate the engine coolant temperature gauge located in the instrument panel.