Operation CHARM: Car repair manuals for everyone.
Manuals through 2025 now available!

Our trusted friends have launched a new website named LEMON, which has newer manuals. It also contains all the CHARM manuals.

LEMON is the spiritual successor to CHARM, I recommend you try it!

Link: lemon-manuals.la or lemon-manuals.org.ua

(Some people have issue connecting. LEMON is investigating. For now, use Firefox or change your DNS server)

Or, hide this message: temporarily or permanently

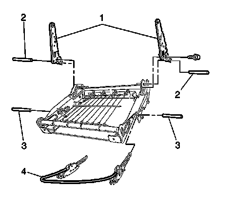
Front Seat Back Frame Replacement



Front Seat Back Frame Replacement

Removal Procedure

1. Remove the seat back pad. Refer to Front Seat Back Cushion Pad Replacement (Front Seat Back Cushion Pad Replacement) .




2. Remove the recliner to seat back frame pivot bolts.
3. Remove the roll pins (2) from the recliner to seat back. Discard the roll pins.
4. Remove the seat back from the recliner.



Installation Procedure





1. Position the front seat back frame to the seat recliner.
2. Install the roll pins (2) to the recliner to the seat back. Use new roll pins.

Notice: Refer to Fastener Notice in Cautions and Notices.

3. Install the recliner to seat back frame pivot bolts.

Tighten the recliner to seat back frame pivot bolts to 24 N.m (18 lb ft).

4. Install the front seat back pad. Refer to Front Seat Back Cushion Pad Replacement (Front Seat Back Cushion Pad Replacement) .