Operation CHARM: Car repair manuals for everyone.
Manuals through 2025 now available!

Our trusted friends have launched a new website named LEMON, which has newer manuals. It also contains all the CHARM manuals.

LEMON is the spiritual successor to CHARM, I recommend you try it!

Link: lemon-manuals.la or lemon-manuals.org.ua

(Some people have issue connecting. LEMON is investigating. For now, use Firefox or change your DNS server)

Or, hide this message: temporarily or permanently

Electrical Diagrams





Engine Controls Schematics

Power, Ground, MIL and Data Link






CKP, CMP, ICM, Bank 1 KS and Bank 2 KS






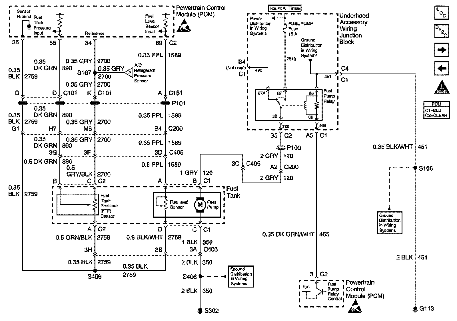
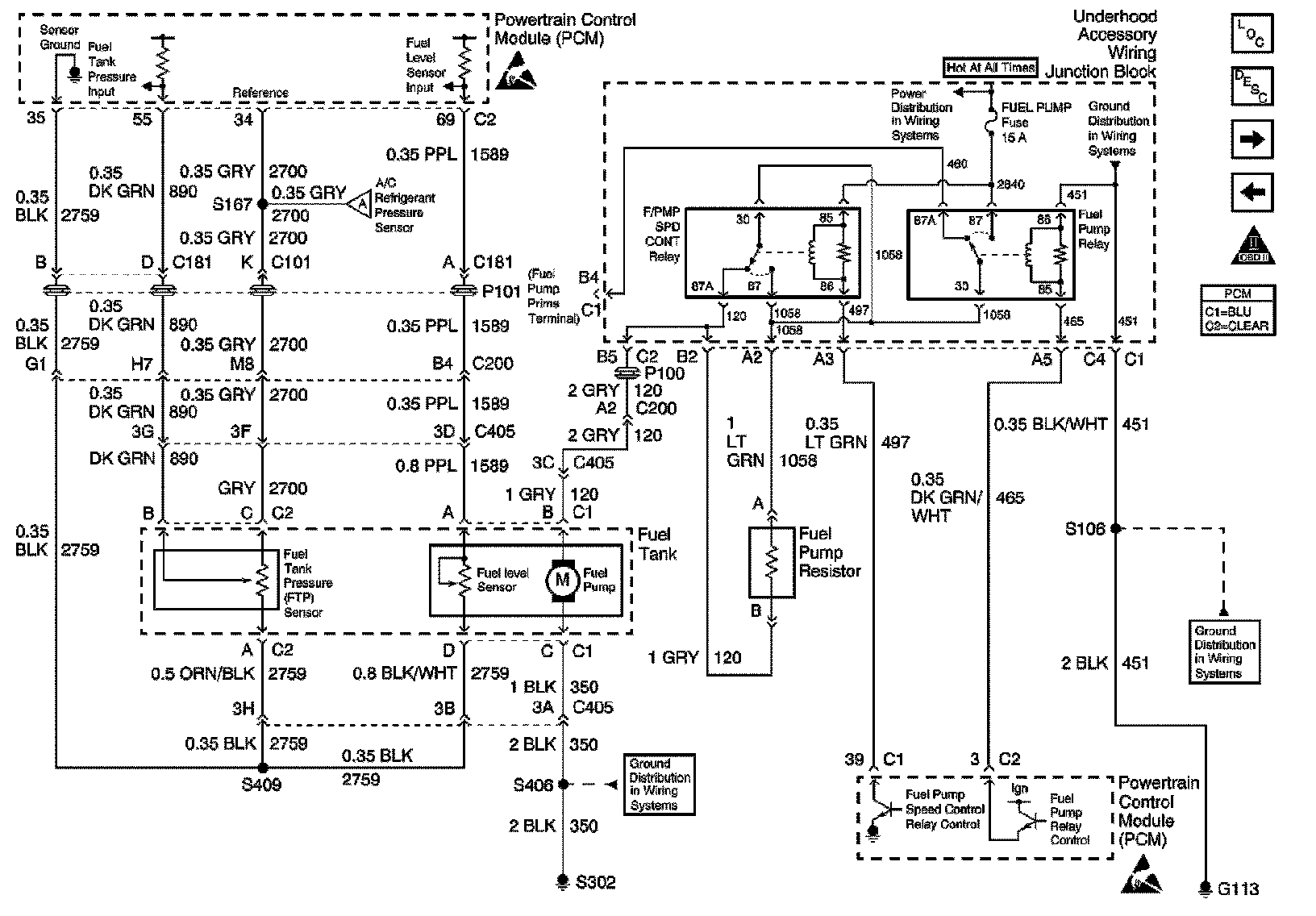
Fuel Tank






Fuel Tank and Fuel Pump Resistor






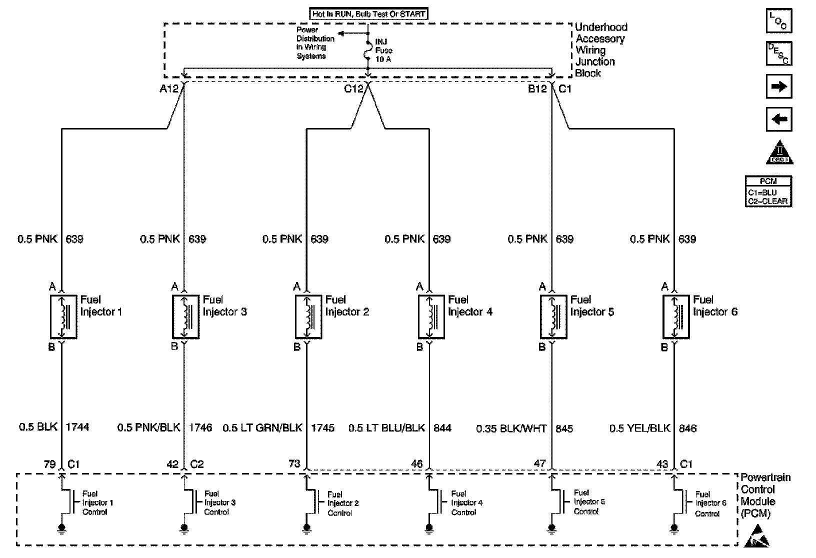
Fuel Injectors






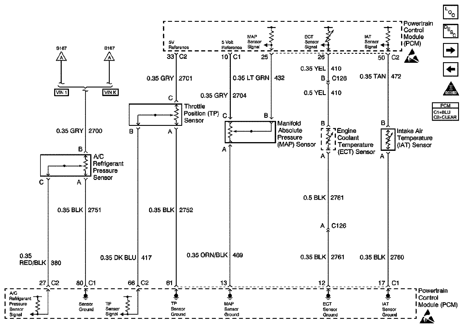
A/C Refrigerant Pressure Sensor, TP, MAP, ECT and IAT Sensor






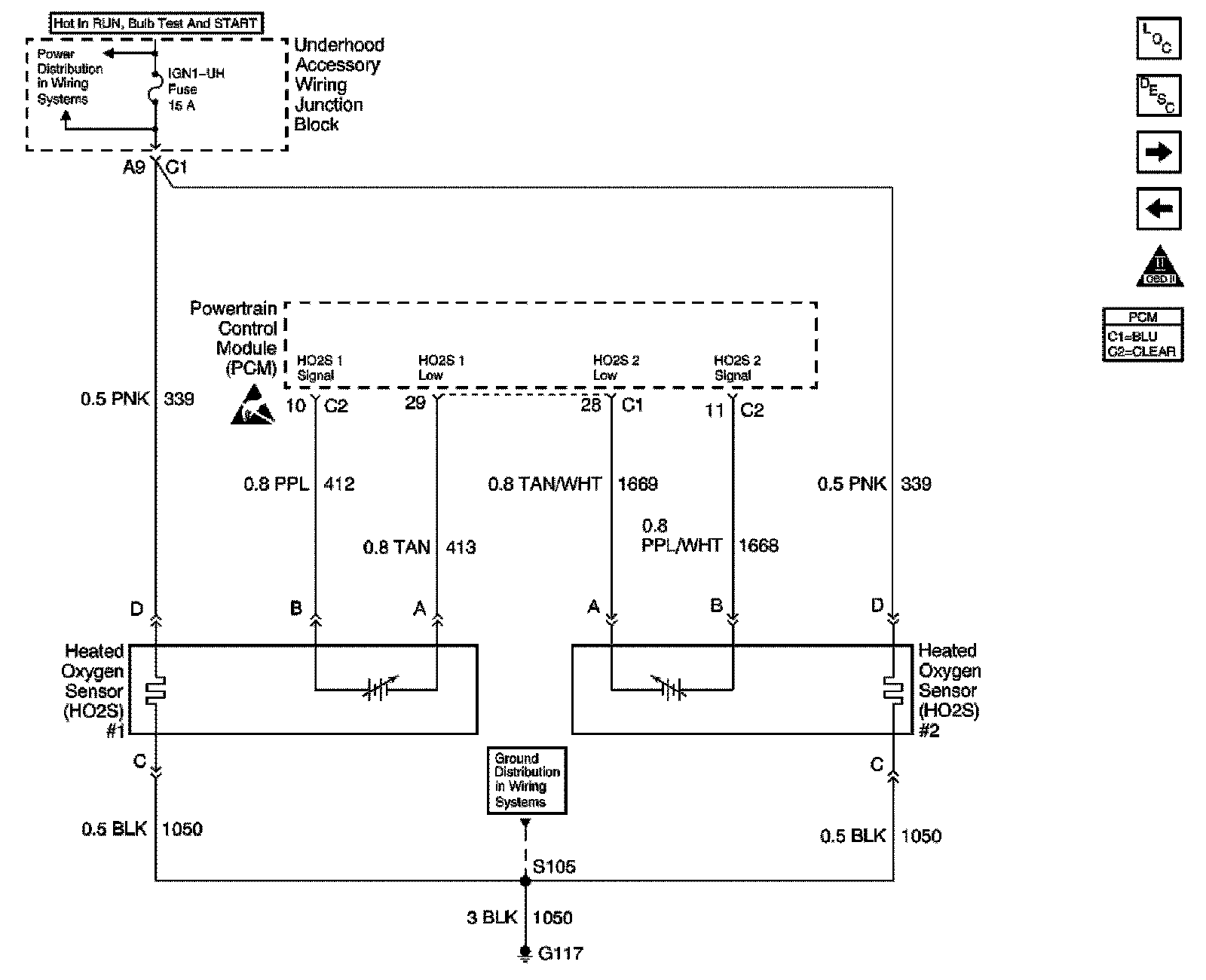
HO2S #1 and HO2S #2






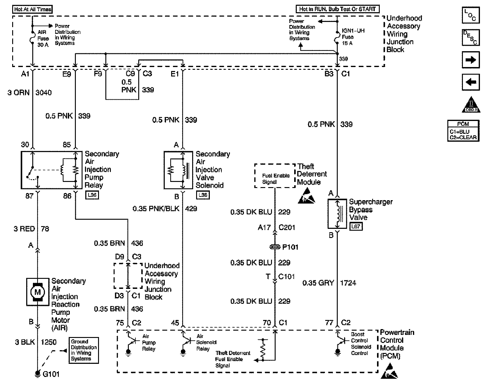
AIR Motor, AIR Valve, AIR Relay, Theft Deterrent Module and Supercharger Bypass Valve






HUD, Trip Calculator, I/P, BCM, CCM and VSS






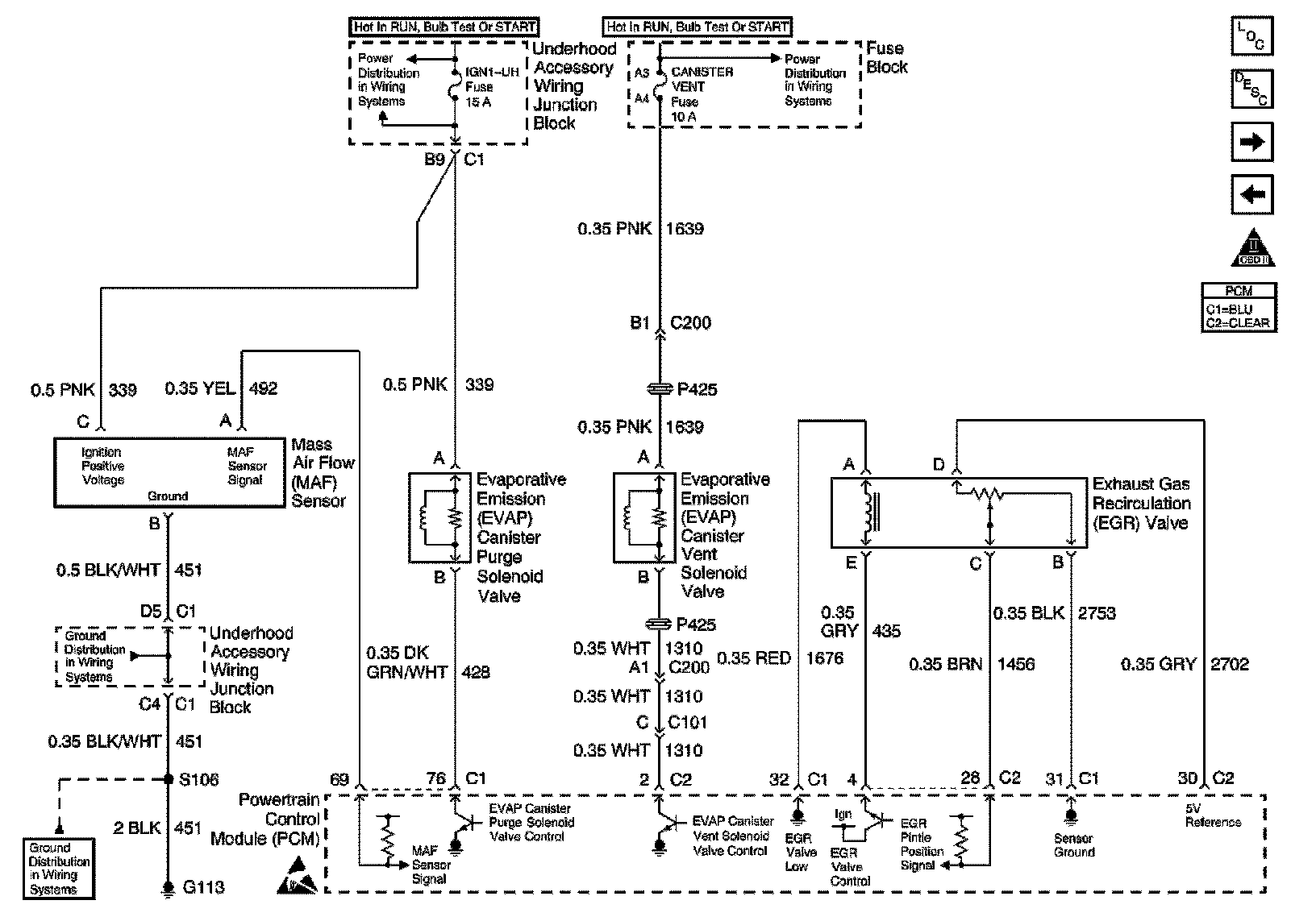
MAF, [1][2]EVAP Purge, EVAP Canister, EGR Valve






I/P and Driver Information Display






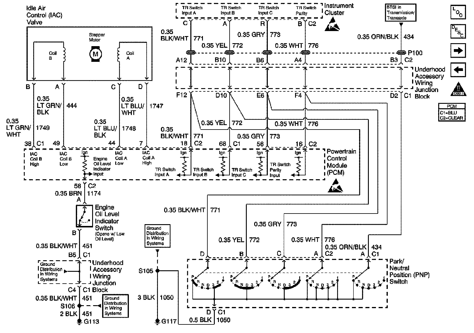
IAC, I/P, Engine Oil Level Indicator Switch and PNP






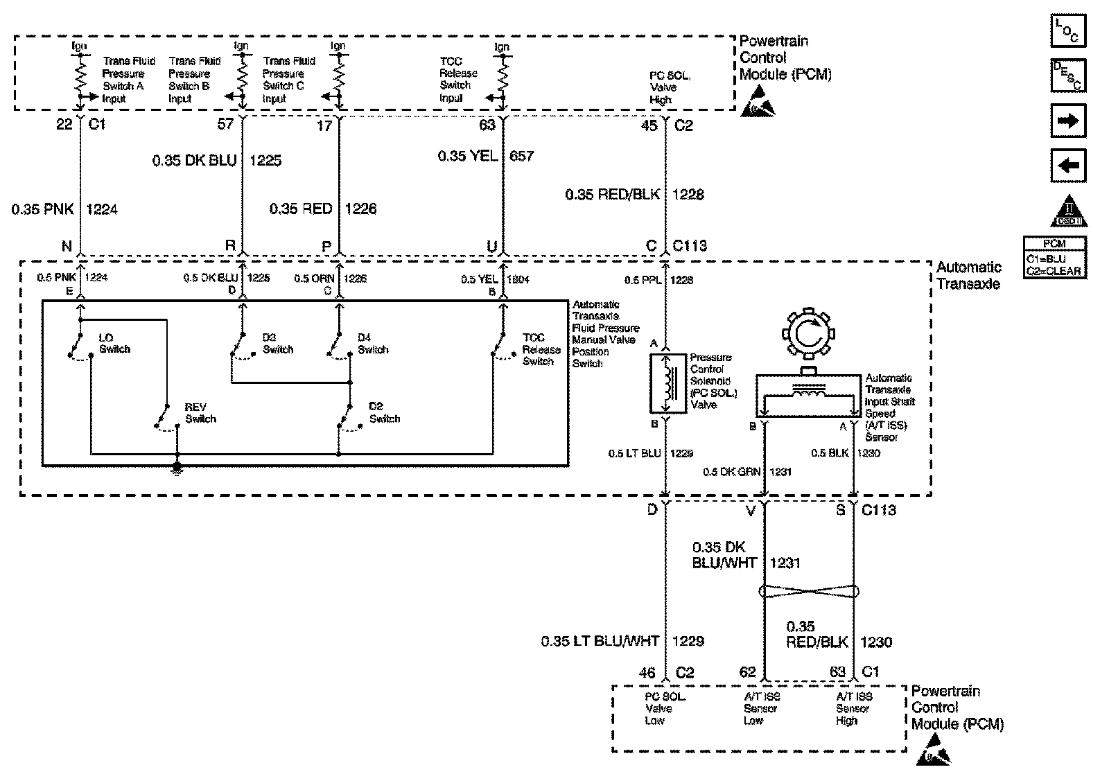
Automatic Transaxle






Automatic Transaxle, EBCM, Performance Shift Switch and Stop Lamp Switch






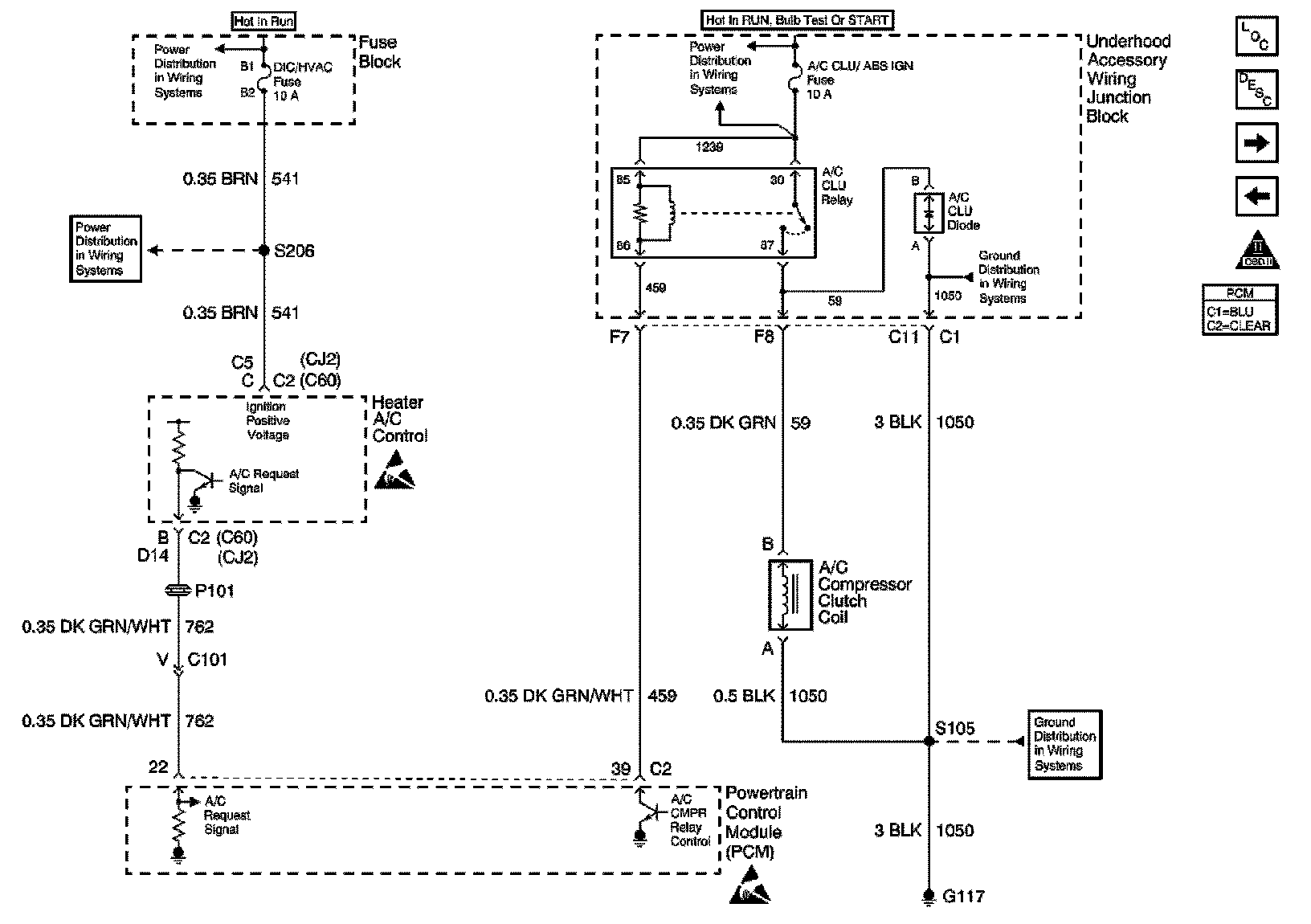
Heater A/C Control and A/C Compressor Clutch Coil






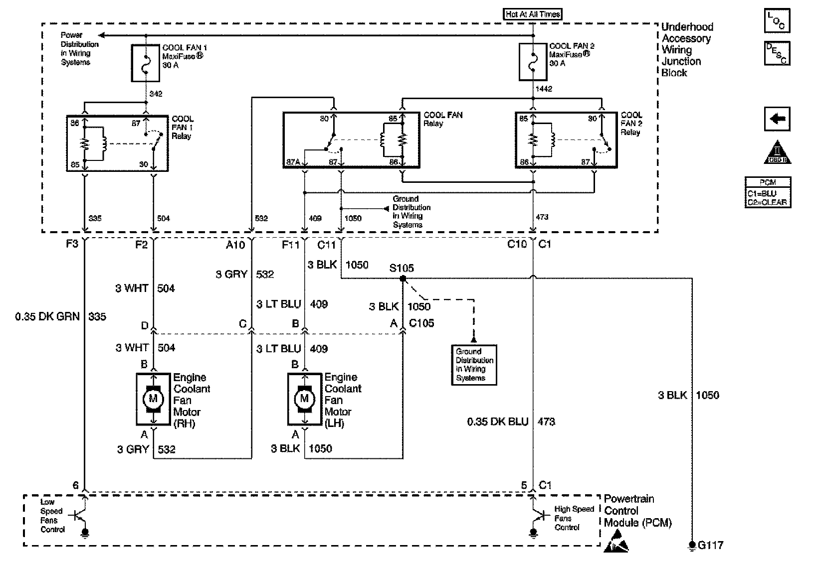
Coolant Fan Motor #1 and Coolant Fan Motor #2