Operation CHARM: Car repair manuals for everyone.
Manuals through 2025 now available!

Our trusted friends have launched a new website named LEMON, which has newer manuals. It also contains all the CHARM manuals.

LEMON is the spiritual successor to CHARM, I recommend you try it!

Link: lemon-manuals.la or lemon-manuals.org.ua

(Some people have issue connecting. LEMON is investigating. For now, use Firefox or change your DNS server)

Or, hide this message: temporarily or permanently

Fuse Block Replacement

REMOVAL PROCEDURE

CAUTION: Refer to Battery Disconnect Caution In Service Precautions.




1. Remove the battery ground negative cable.
2. Remove the instrument panel carrier.
3. Remove the electrical connectors.
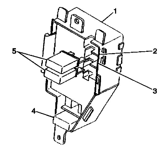
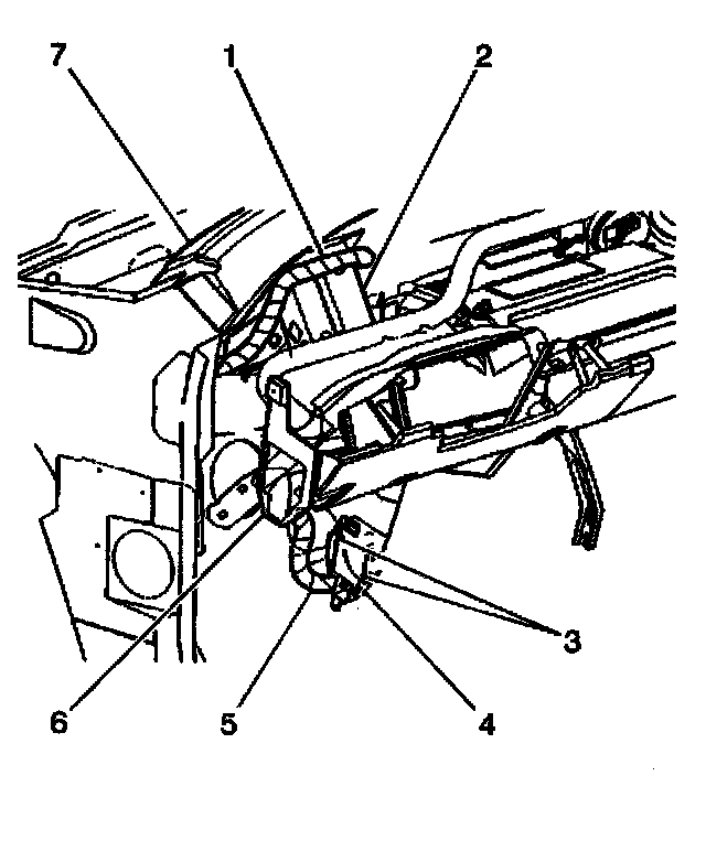
4. Remove the fuse block from the tie bar (6), by pressing the retainer (3) and pushing.




5. Remove the wire terminals from the fuse block (1).

INSTALLATION PROCEDURE




1. Install the terminals and wires to the fuse block (1).
2. Install the fuse block (1) to the instrument panel.




3. Install the fuse block to the tie bar (6).
4. connect the electrical connectors.

CAUTION: Refer to Battery Disconnect Caution In Service Precautions.

5. Install the battery ground negative cable.