Operation CHARM: Car repair manuals for everyone.
Manuals through 2025 now available!

Our trusted friends have launched a new website named LEMON, which has newer manuals. It also contains all the CHARM manuals.

LEMON is the spiritual successor to CHARM, I recommend you try it!

Link: lemon-manuals.la or lemon-manuals.org.ua

(Some people have issue connecting. LEMON is investigating. For now, use Firefox or change your DNS server)

Or, hide this message: temporarily or permanently

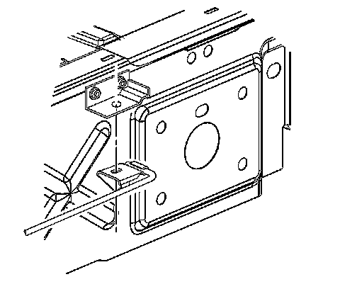
Endgate Torque Rod Replacement




Endgate Torque Rod Replacement

Removal Procedure

1. Open the endgate.




2. Remove the endgate torque rod bolt from the torque rod bracket.




3. Remove the bolts from the endgate torque rod to the endgate.




4. Remove the endgate torque rod from the endgate.




5. Remove the bolts from the endgate torque rod bracket to the rear body panel.




6. Remove the torque rod bracket from the rear body panel.




7. Remove the torque rod insulator from the endgate using a small flat-bladed tool.

Installation Procedure




1. Install the torque rod insulator to the endgate, pressing into place until fully seated.




2. Position the torque rod bracket to the rear body panel.





Notice: Refer to Fastener Notice in Cautions and Notices.

3. Install the bolts to the torque rod bracket.

Tighten the torque rod bracket bolts to 25 Nm (18 lb ft).




4. Position the torque rod to the torque rod bracket.




5. Install the endgate torque rod bolt to the torque rod bracket.

Tighten the endgate torque rod bolt to 10 Nm (89 lb in).




6. Position the endgate torque rod to the endgate.




7. Install the bolts to the endgate torque rod to the endgate.

Tighten the torque rod to endgate bolts to 33 Nm (28 lb ft).

8. Close the endgate.