Operation CHARM: Car repair manuals for everyone.
Manuals through 2025 now available!

Our trusted friends have launched a new website named LEMON, which has newer manuals. It also contains all the CHARM manuals.

LEMON is the spiritual successor to CHARM, I recommend you try it!

Link: lemon-manuals.la or lemon-manuals.org.ua

(Some people have issue connecting. LEMON is investigating. For now, use Firefox or change your DNS server)

Or, hide this message: temporarily or permanently

Wheel Speed Sensor Jumper Harness Replacement-Rear

Wheel Speed Sensor Jumper Harness Replacement-Rear

Removal Procedure

1. Raise and support the vehicle on a suitable hoist. Refer to Vehicle Lifting.
2. Disconnect the rear wheel speed jumper harness connector at the pass through connector.





3. Remove the rear wheel speed sensor jumper harness (1) from the retaining clips (2).





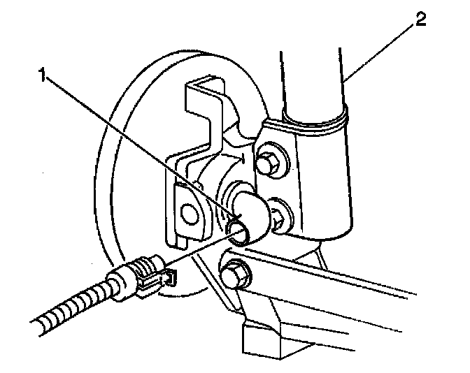
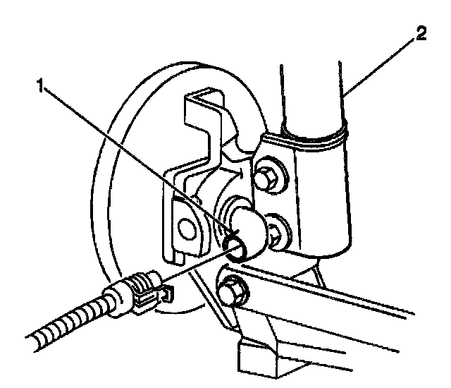
4. Disconnect the rear wheel speed sensor jumper harness connector (1) from the wheel speed sensor, located next to the rear strut (2).
5. Remove the rear wheel speed sensor jumper harness.

Installation Procedure





1. Connect the rear wheel speed sensor jumper harness connector (1) to the wheel speed sensor, located next to the rear strut (2).





2. Install the rear wheel speed jumper harness (1) into the retaining clips (2).
3. Connect the rear wheel speed sensor jumper harness connector to the pass through connector.
4. Lower the vehicle.
5. Turn the ignition switch to the RUN position, with the engine off.
6. Perform the diag. system check. Refer to Diagnostic System Check-ABS.