Operation CHARM: Car repair manuals for everyone.
Manuals through 2025 now available!

Our trusted friends have launched a new website named LEMON, which has newer manuals. It also contains all the CHARM manuals.

LEMON is the spiritual successor to CHARM, I recommend you try it!

Link: lemon-manuals.la or lemon-manuals.org.ua

(Some people have issue connecting. LEMON is investigating. For now, use Firefox or change your DNS server)

Or, hide this message: temporarily or permanently

Brake Pedal Assy: Service and Repair

Brake Pedal Assembly Replacement

Removal Procedure

1. Disable the SIR system. Refer to Restraint Systems.
2. Remove the left side insulator panel.





3. Remove the booster push rod (2) from the brake pedal (1).
4. Disconnect the electrical connectors from the cruise control release (if equipped) and stoplamp switches.
5. Remove the knee bolster.
6. Remove the brake booster mounting nuts (3).





7. Remove the brake pedal bracket mounting nuts (2).
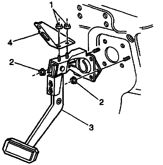
8. Remove the upper mounting nuts (1) from the brake pedal brace (4).
9. Remove the brake pedal with the bracket (3).
10. Remove the brake pedal brace (4) from the bracket.





11. Remove the cruise control release switch (3) (if equipped and the stop lamp switch (1) from the brake pedal with the bracket (2).

Installation Procedure





1. Install the cruise control release switch (3) (if equipped) and the stop lamp switch (1) to the brake pedal with the bracket (2).

Notice: Refer to Fastener Notice in Service Precautions.





2. Install the brake pedal brace (4) with the mounting nuts (1) to the bracket.
^ Tighten the nuts (1) to 10 Nm (89 inch lbs.).
3. Install the brake pedal with the bracket (3).
4. Install the upper mounting bolt for the brake pedal brace (4).
^ Tighten the bolt to 10 Nm (89 inch lbs.).
5. Install the brake pedal bracket mounting nuts (2).
^ Tighten the nuts (2) to 25 Nm (18 ft. lbs.).





6. Install the brake booster mounting nuts (3).
^ Tighten the nuts (3) to 25 Nm (18 ft. lbs.).
7. Install the knee bolster.
8. Connect the electrical connectors to the cruise control release (if equipped) and stoplamp switches.
9. Install the booster push rod (2) to the brake pedal (1).
10. Adjust the stop lamp switch and the cruise control release switch (if equipped).
11. Install the left side insulator panel.
12. Enable the SIR system. Refer to Restraint Systems.