Operation CHARM: Car repair manuals for everyone.
Manuals through 2025 now available!

Our trusted friends have launched a new website named LEMON, which has newer manuals. It also contains all the CHARM manuals.

LEMON is the spiritual successor to CHARM, I recommend you try it!

Link: lemon-manuals.la or lemon-manuals.org.ua

(Some people have issue connecting. LEMON is investigating. For now, use Firefox or change your DNS server)

Or, hide this message: temporarily or permanently

Brake Caliper Replacement-Rear

Brake Caliper Replacement-Rear

Removal Procedure

1. Inspect the fluid level in the brake master cylinder reservoir.
2. If the brake fluid level is midway between the maximum-full point and the minimum allowable level, then no brake fluid needs to be removed from the reservoir before proceeding. If the brake fluid level is higher than midway between the maximum-full point and the minimum allowable level, then remove brake fluid to the midway point before proceeding.
3. Raise and support the vehicle. Refer to Vehicle Lifting.
4. Remove the tire and wheel.
5. Install two nuts to retain the rotor to the hub.





6. Install a large C-clamp (3) over the top of the brake caliper and against the back of the outboard brake pad.
7. Tighten the C-clamp until the caliper piston is pushed into the caliper bore enough to slide the caliper off the rotor.





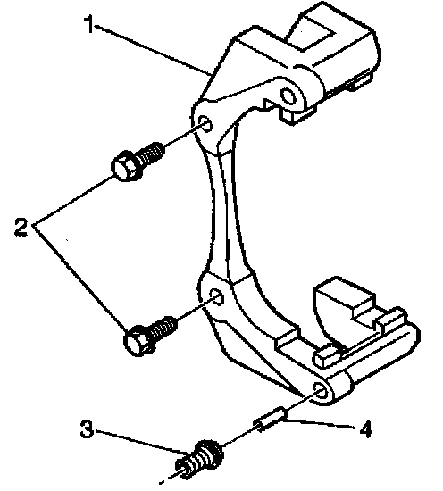
8. Remove the brake hose bolt (1).
9. Remove the brake hose (2) from the brake caliper.
10. Remove and discard the two copper brake hose gaskets (3). These gaskets may be stuck to the brake caliper and/or the brake hose end.
11. Plug the openings in the brake caliper and the brake hose in order to prevent brake fluid loss and contamination.
12. Clean off any dirt or corrosion on the brake caliper near the brake hose fitting.





13. Remove the brake caliper bolts (1 and 3).
14. Remove the brake caliper (15) from the brake caliper bracket (12).
15. Inspect the brake caliper piston boot (8) for the following conditions:
^ Cuts
^ Tears
^ Deterioration
Replace the brake caliper piston boot if damage exists.

16. Inspect the caliper bolts for corrosion or damage. If corrosion is found on the brake caliper bolt shaft, replace the brake caliper bolt, replace the brake caliper bolt bushing, and replace the brake caliper bolt boot. Do not attempt to polish away the corrosion.

Installation Procedure





1. Ensure that the caliper bolt bushings (4) and the caliper bolt boots (3) are properly installed.





2. Install the brake caliper (1) to the brake caliper bracket (2).
3. lubricate the brake caliper bolt shaft. Do not lubricate the threads.





4. lubricate the brake caliper bolt boots (4) in the brake caliper bracket (3).

Notice: Refer to Fastener Notice in Service Precautions.

5. Install the brake caliper bolts.
^ Tighten the brake caliper bolts to 43 Nm (32 lb ft).
6. Use a flat-bladed tool in order to install the brake caliper bracket boot over the shoulder of the brake caliper bolt.
7. Remove the plugs in the brake hose end.

Important: Install NEW copper brake hose gaskets (3).





8. Assemble the brake hose bolt (1) and the NEW copper brake hose gaskets (3) to the brake hose (2).
9. Install the brake hose bolt to the brake caliper.
10. Remove the nuts securing the rotor to the hub.
11. Install the tire and wheel.
12. Lower the vehicle.
13. Fill the master cylinder to the proper level.
14. Bleed the brake system.
15. Apply approximately 778 Nm (175 lb ft) of force to the brake pedal for ten seconds.
16. Inspect the brake caliper and hydraulic brake system for brake fluid leaks.