Operation CHARM: Car repair manuals for everyone.
Manuals through 2025 now available!

Our trusted friends have launched a new website named LEMON, which has newer manuals. It also contains all the CHARM manuals.

LEMON is the spiritual successor to CHARM, I recommend you try it!

Link: lemon-manuals.la or lemon-manuals.org.ua

(Some people have issue connecting. LEMON is investigating. For now, use Firefox or change your DNS server)

Or, hide this message: temporarily or permanently

Vehicle Lifting: Service and Repair




Lifting and Jacking the Vehicle

Caution: To avoid any vehicle damage, serious personal injury or death when major components are removed from the vehicle and the vehicle is supported by a hoist, support the vehicle with jack stands at the opposite end from which the components are being removed and strap the vehicle to the hoist.

Caution: To avoid any vehicle damage, serious personal injury or death, always use the jackstands to support the vehicle when lifting the vehicle with a jack.

Notice: Perform the following steps before beginning any vehicle lifting or jacking procedure:

* Remove or secure all of the vehicle's contents in order to avoid any shifting or any movement that may occur during the vehicle lifting or jacking procedure.
* The lifting equipment or the jacking equipment weight rating must meet or exceed the weight of the vehicle and any vehicle contents.
* The lifting equipment or the jacking equipment must meet the operational standards of the lifting equipment or jacking equipment's manufacturer.
* Perform the vehicle lifting or jacking procedure on a clean, hard, dry, level surface.
* Perform the vehicle lifting or jacking procedure only at the identified lift points. DO NOT allow the lifting equipment or jacking equipment to contact any other vehicle components.

Failure to perform the previous steps could result in damage to the lifting equipment or the jacking equipment, the vehicle, and/or the vehicle's contents.

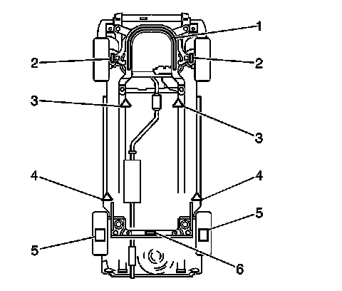
Front Wheel Drive Lifting and Jacking Locations




1 - Front Floor Jacking Location
2 - Front Suspension-Contact Lift Location
2 - Front Suspension-Contact Lift Location
3 - Front Frame-Contact Lift Location
3 - Front Frame-Contact Lift Location
4 - Rear Frame-Contact Lift Location
4 - Rear Frame-Contact Lift Location
5 - Rear Suspension-Contact Lift Location
5 - Rear Suspension-Contact Lift Location
6 - Rear Floor Jacking Location

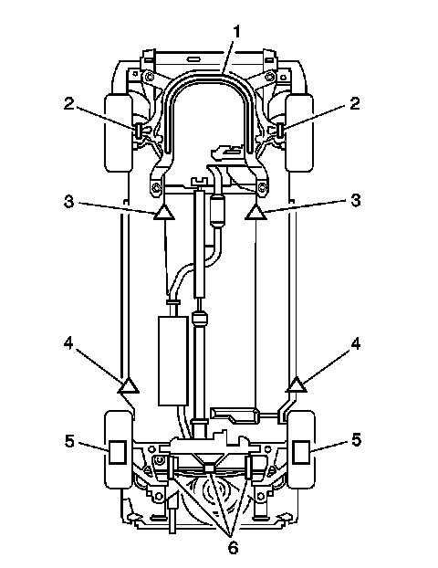
All Wheel Drive Lifting and Jacking Locations




1 - Front Floor Jacking Location
2 - Front Suspension-Contact Lift Location
2 - Front Suspension-Contact Lift Location
3 - Front Frame-Contact Lift Location
3 - Front Frame-Contact Lift Location
4 - Rear Frame-Contact Lift Location
4 - Rear Frame-Contact Lift Location
5 - Rear Suspension-Contact Lift Location
5 - Rear Suspension-Contact Lift Location
6 - Rear Floor Jacking Location

Lifting the Vehicle with a Frame-Contact Lift

Frame-Contact Lift at the Front of the Vehicle





Important: The front lift pads must not contact the rocker panels, the front fenders, the floor pan, or the stone guard moldings.


When lifting the vehicle with a frame-contact lift, place the front lift pads at the front longitudinal frame rails. This area may also be identified on the vehicle with an equilateral triangle.

Frame-Contact Lift at the Rear of the Vehicle





Important: The rear lift pads must not contact the rocker panels, the rear fenders, the floor pan, or the stone guard moldings.


When lifting the vehicle with a frame-contact lift, place the rear lift pads at the lift bracket. This area may also be identified on the vehicle with an equilateral triangle.

Lifting the Vehicle with a Suspension-Contact Lift

Suspension-Contact Lift at the Front of the Vehicle





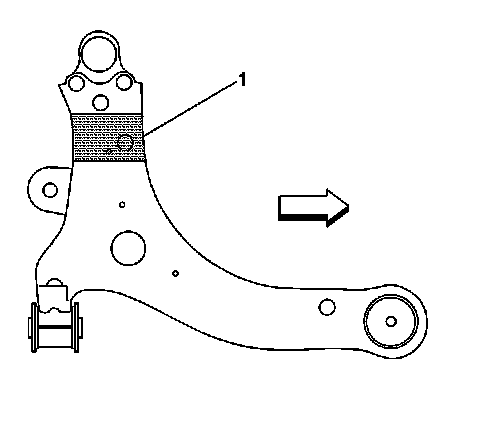
Notice: Ensure that the front suspension-contact lift points contact the lower control arms ONLY where identified. Failure to follow this precautionary step could result in damage to the lower control arm stabilizer link bracket.

When lifting the vehicle with a suspension-contact lift, place the front post lift points at the lower control arms (1).

Suspension-Contact Lift at the Rear of the Vehicle

Lift the rear of the vehicle with the rear post lift points ONLY at the rear wheels.

Lifting the Vehicle with a Floor Jack

Floor Jack at the Front of the Vehicle

When lifting front the vehicle with a floor jack, place the floor jack lift pad at the center of the front frame rail.





Floor Jack at the Rear of the Vehicle (All Wheel Drive)





Lift the rear of the vehicle by placing the floor jack lift pad at the center of the rear suspension.

Floor Jack at the Rear of the Vehicle (Front Wheel Drive)