Operation CHARM: Car repair manuals for everyone.
Manuals through 2025 now available!

Our trusted friends have launched a new website named LEMON, which has newer manuals. It also contains all the CHARM manuals.

LEMON is the spiritual successor to CHARM, I recommend you try it!

Link: lemon-manuals.la or lemon-manuals.org.ua

(Some people have issue connecting. LEMON is investigating. For now, use Firefox or change your DNS server)

Or, hide this message: temporarily or permanently

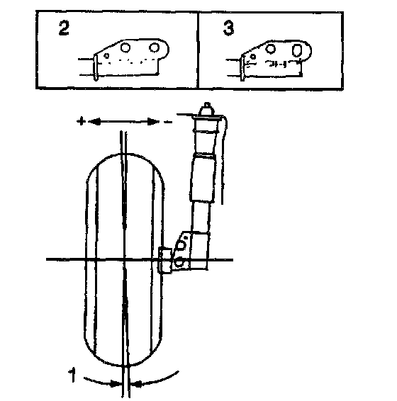
Front Camber Adjustment





1. Raise and support the vehicle.
2. Remove the tire and wheel.
3. Remove the strut lower bolt in order to inspect for an oblong strut lower hole (3). If the strut lower hole is oblong, loosen the strut upper bolt in order to allow for camber adjustment.
If the strut lower hole is NOT oblong, perform the following steps:
3.1. Remove the strut from the vehicle.
3.2. Secure the strut in a vise.
3.3. File the strut lower hole laterally (3) in order to allow for camber adjustment.
3.4. Install the strut to the vehicle.
3.5. Install the strut bolts.

Notice: Refer to Fastener Notice in Service Precautions.

4. Adjust the camber.
- Tighten the strut lower nuts to 123 Nm (90 ft. lbs.).
5. Install the tire and wheel.
6. Lower the vehicle.