Operation CHARM: Car repair manuals for everyone.
Manuals through 2025 now available!

Our trusted friends have launched a new website named LEMON, which has newer manuals. It also contains all the CHARM manuals.

LEMON is the spiritual successor to CHARM, I recommend you try it!

Link: lemon-manuals.la or lemon-manuals.org.ua

(Some people have issue connecting. LEMON is investigating. For now, use Firefox or change your DNS server)

Or, hide this message: temporarily or permanently

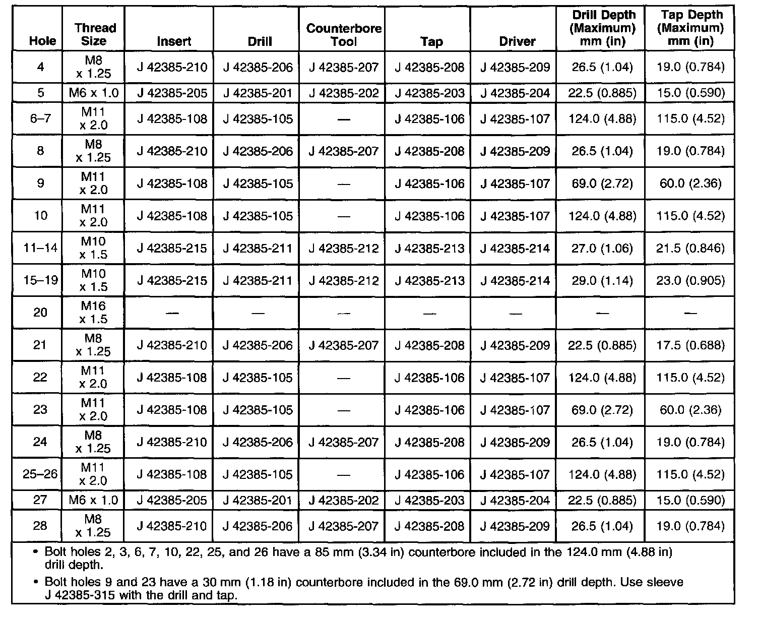
Thread Repair Specifications

Thread Repair Specification

Engine Block-Front View





Part 1 of 2





Part 2 of 2

Engine Block-Rear View





Part 1 of 2





Part 2 of 2

Engine Block-Left Side View





Part 1 of 3





Part 2 of 3





Part 3 of 3

Engine Block-Right Side View





Part 1 of 3





Part 2 of 3





Part 3 of 3

Engine Block-Bottom View





Part 1 of 3





Part 2 of 3





Part 3 of 3

Engine Block-Top View





Part 1 of 2





Part 2 of 2

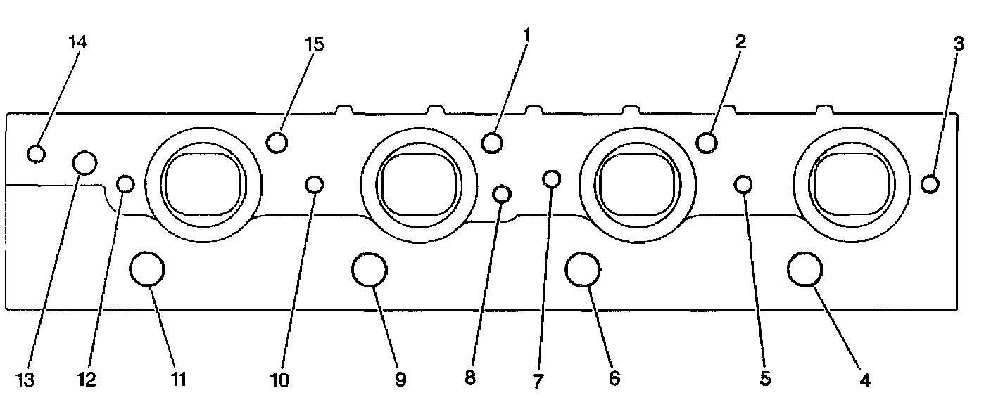
Cylinder Head-Top View





Part 1 of 2





Part 2 of 2

Cylinder Head-End View





Part 1 of 3





Part 2 of 3





Part 3 of 3

Cylinder Head-Exhaust Manifold Deck View





Part 1 of 2





Part 2 of 2

Cylinder Head-intake Manifold Deck View





Part 1 of 2





Part 2 of 2