Input Speed Sensor Replacement
Input Speed Sensor ReplacementRemoval Procedure
1. Remove the case side cover.
2. Disconnect the transaxle wiring harness.
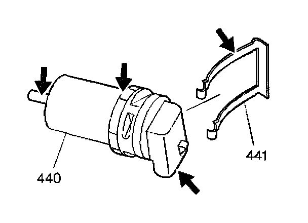
3. Remove the input speed sensor clip (441) from the case cover.
4. Remove the input speed sensor (440) from the case cover.
5. Inspect the input speed sensor (440) for the following conditions:
^ Damaged or missing magnet
^ Damaged housing
^ Bent or missing electrical terminals
^ Damaged speed sensor clip (441)
Installation Procedure
1. Install the input speed sensor (440) into the case cover.
2. Install the input speed sensor clip (441) into the case cover.
3. Connect the transaxle wiring harness.
4. Install the case side cover.