Operation CHARM: Car repair manuals for everyone.
Manuals through 2025 now available!

Our trusted friends have launched a new website named LEMON, which has newer manuals. It also contains all the CHARM manuals.

LEMON is the spiritual successor to CHARM, I recommend you try it!

Link: lemon-manuals.la or lemon-manuals.org.ua

(Some people have issue connecting. LEMON is investigating. For now, use Firefox or change your DNS server)

Or, hide this message: temporarily or permanently

Control Valve Body Replacement

Control Valve Body Replacement
^ Tool Required
- J 36850 Transmission Assembly Lubricant

Removal Procedure





1. Remove the case side cover.
2. Remove the oil pump.
3. Remove the valve body bolts (374-381, 384).





4. Remove the valve body (300) while keeping the spacer plate (370) with the transaxle.





5. Remove the ball check valves (372, 373) from the valve body.





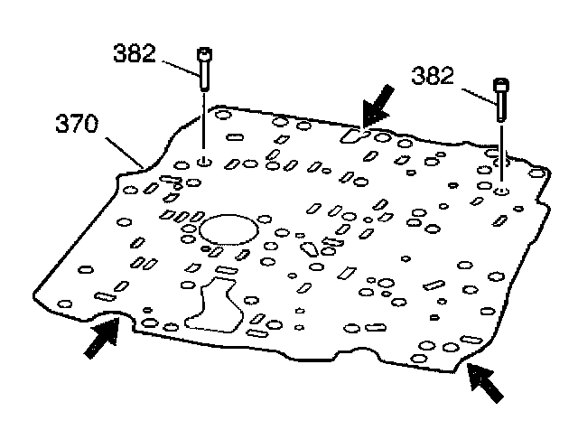
6. Remove the spacer plate (370) and gasket.





7. Remove the ball check valves (372) from the case cover.





8. Inspect each check valve seat in the spacer plate (370) for excessive peening. Place a ball check valve (372) on each seat and use a flashlight in order to look for visible light between the valve and the seat.
9. Inspect all components removed from the transaxle.

Installation Procedure





Notice: Do NOT use any type of grease to retain parts during the assembly of this unit. Using greases other than the recommended assembly lube changes the transaxle fluid characteristics. Using greases other than the recommended assembly lube causes undesirable shift conditions and/or filter clogging. Use TRANSJEL TM J 36850 or equivalent during the assembly of this unit.

1. Install the ball check valves (372) into the case cover. Use the J 36850 to retain the ball check valves in their proper locations.





2. Install the gasket and the spacer plate (370).





3. Install the ball check valves (372, 373) into the valve body. Use the J 36850 to retain the ball check valves in their proper locations.





Important: Do NOT use impact type tools on the valve body or on the oil pump.

4. Install the gasket (371) and the valve body (300).





Notice: Refer to Fastener Notice in Service Precautions.

5. Install the valve body bolts (374,381, 384).
^ Tighten the M6 X 1.0 X 20 bolt to 8 Nm (70 inch lbs.).
^ Tighten the M6 X 1.0 X 30 bolt to 12 Nm (106 ft. lbs.).
^ Tighten the M6 X 1.0 X 45 bolt to 12 Nm (106 inch lbs.).
^ Tighten the M6 X 1.0 X 55 bolt to 12 Nm (106 inch lbs.).
^ Tighten the M6 X 1.0 X 60 bolt to 12 Nm (106 inch lbs.).
^ Tighten the M6 X 1.0 X 65 bolt to 12 Nm (106 inch lbs.).
^ Tighten the M6 X 1.0 X 85 bolt to 12 Nm (106 inch lbs.).
^ Tighten the M6 X 1.0 X 95 bolt to 16 Nm (12 ft. lbs.).
^ Tighten the M8 X 1.25 X 90 bolt to 25 Nm (18 ft. lbs.).

Important: Do NOT use impact type tools on the valve body or on the oil pump.

6. Install the oil pump.
7. Install the case side cover.