Operation CHARM: Car repair manuals for everyone.
Manuals through 2025 now available!

Our trusted friends have launched a new website named LEMON, which has newer manuals. It also contains all the CHARM manuals.

LEMON is the spiritual successor to CHARM, I recommend you try it!

Link: lemon-manuals.la or lemon-manuals.org.ua

(Some people have issue connecting. LEMON is investigating. For now, use Firefox or change your DNS server)

Or, hide this message: temporarily or permanently

Lock Replacement - Rear Door

LOCK REPLACEMENT - REAR DOOR

REMOVAL PROCEDURE
1. Remove the trim panel.
3. Remove the inside handle rods from the rear door inside handle.




4. Disconnect the clip securing the outside handle rod to the rear door lock.




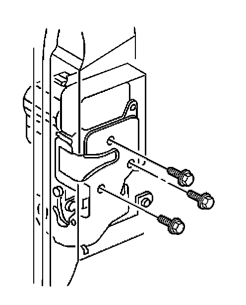
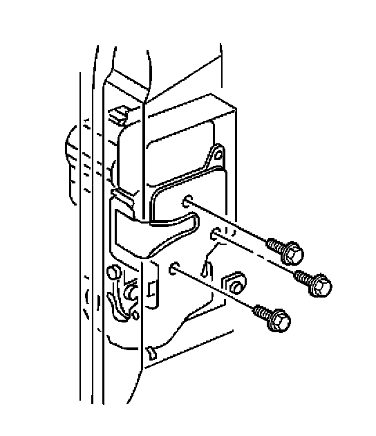
5. Remove the screws from the rear door lock.




6. Disconnect the electrical connectors from the lock.




7. Remove the lock from the rear door with the inside handle rods attached to the lock through the access hole in the inner panel.




8. Remove the inside handle rods from the lock.

INSTALLATION PROCEDURE




1. Install the inside handle rods to the lock.




2. Install the lock in position through the access hole in the rear door inner panel.




3. Connect the electrical connectors to the rear door lock.




4. Install the lock screws to the rear door lock.

NOTE: Refer to Fastener Notice in Service Precautions.

Tighten
Tighten the lock screws to 10 N.m (89 lb in).




5. Connect the clip securing the outside handle rod to the rear door lock.
6. Install the handle rods to the inside door handle.
7. Install the water deflector.
8. Install the trim panel.