Operation CHARM: Car repair manuals for everyone.
Manuals through 2025 now available!

Our trusted friends have launched a new website named LEMON, which has newer manuals. It also contains all the CHARM manuals.

LEMON is the spiritual successor to CHARM, I recommend you try it!

Link: lemon-manuals.la or lemon-manuals.org.ua

(Some people have issue connecting. LEMON is investigating. For now, use Firefox or change your DNS server)

Or, hide this message: temporarily or permanently

Front

Disc Brake Hardware Replacement- Front

Removal Procedure

Caution: Refer to Brake Dust Caution.
Brake Dust Caution


1. Inspect the fluid level in the brake master cylinder reservoir.
2. If the brake fluid level is midway between the maximum-full point and the minimum allowable level, then no brake fluid needs to be removed from the reservoir before proceeding. If the brake fluid level is higher than midway between the maximum-full point and the minimum allowable level, then remove brake fluid to the midway point before proceeding.
3. Raise and support the vehicle. Refer to Vehicle Lifting.

4. Remove the tire and wheel.
5. Using a C-clamp installed to the center of the outer disc brake pad and the back of the caliper, slowly compress the caliper piston into its bore just enough to remove the caliper from the mounting bracket.

Notice: Support the brake caliper with heavy mechanic's wire, or equivalent, whenever it is separated from it's mount and the hydraulic flexible brake hose is still connected. Failure to support the caliper in this manner will cause the flexible brake hose to bear the weight of the caliper, which may cause damage to the brake hose and in turn may cause a brake fluid leak.







6. Remove the disc brake caliper bolts.
7. Remove the disc brake caliper from the mounting bracket.
8. Remove the disc brake pads from the disc brake caliper bracket.
9. Remove the disc brake pad retainers from the disc brake caliper bracket.







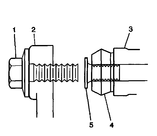
10. Remove the caliper pins (5) from the disc brake caliper mounting bracket (3).
11. Remove the caliper pin boots (4) from the disc brake caliper mounting bracket.
12. Lightly wire brush all brake pad contact areas in order to remove any corrosion.



Installation Procedure







1. Lubricate and Install the caliper pin boots (4) to the disc brake caliper mounting bracket.
2. Lubricate and Install the caliper pins (5) to the disc brake caliper mounting bracket (a).
3. Lubricate and Install the disc brake pad retainers (4) to the disc brake caliper bracket.
4. Install the disc brake pads (5) to the disc brake caliper bracket.
5. Install the disc brake caliper (2) to the mounting bracket.

Notice: Refer to Fastener Notice in Service Precautions.
Fastener Notice


6. install the disc brake caliper bolts (1).
- Tighten the disc brake caliper bolts to 35 Nm (26 lb ft).
Apply and release the brake pedal (3/4 stroke) as many times as necessary in order to obtain a firm brake pedal.

7. Install the tire and wheel.
8. Lower the vehicle.
9. Fill the master cylinder to the proper level.