Operation CHARM: Car repair manuals for everyone.
Manuals through 2025 now available!

Our trusted friends have launched a new website named LEMON, which has newer manuals. It also contains all the CHARM manuals.

LEMON is the spiritual successor to CHARM, I recommend you try it!

Link: lemon-manuals.la or lemon-manuals.org.ua

(Some people have issue connecting. LEMON is investigating. For now, use Firefox or change your DNS server)

Or, hide this message: temporarily or permanently

Underhood Electrical Center or Junction Block Replacement

UNDERHOOD ELECTRICAL CENTER OR JUNCTION BLOCK REPLACEMENT

REMOVAL PROCEDURE
1. Disconnect the negative battery cable.




2. Remove the underhood accessory wiring junction block cover.
2.1. Release the retaining tabs (1).
2.2. Remove the underhood accessory wiring junction block cover (2).




3. Disconnect the positive battery cable.
3.1. Remove the nut (1).
3.2. Position the positive battery cable (2) aside.




4. Remove the underhood accessory wiring junction block.
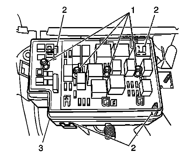
4.1. Loosen the wiring harness retaining bolts (1).
4.2. Release the four underhood accessory wiring junction block retaining clips (2).
4.3. Lift the underhood accessory wiring junction block (3) out of the mounting bracket.
4.4. Disconnect the electrical connectors.
4.5. Remove the underhood accessory wiring junction block (3).

INSTALLATION PROCEDURE




1. Align the electrical connectors to there slots in the underhood accessory wiring junction block bracket.




2. Install the underhood accessory wiring junction block.

NOTE: Refer to Fastener Notice in Service Precautions.

2.1. Align the underhood accessory wiring junction block (3) onto the electrical connectors.
2.2. Hand tighten the harness retaining bolts (1).




3. Connect the positive battery cable (2).
4. Install the positive battery cable nut (1).

Tighten
Tighten the positive battery cable nut (1) to 16 N.m (12 lb ft).




5. Install the underhood accessory wiring junction block cover (2).
2.3. Secure the four underhood accessory wiring junction block retaining clips (2).

Tighten
Tighten the underhood accessory wiring junction block harness retaining bolts (1) to 4 N.m (36 lb in).

6. Secure the retaining tabs (1).
7. Connect the negative battery cable.