Operation CHARM: Car repair manuals for everyone.
Manuals through 2025 now available!

Our trusted friends have launched a new website named LEMON, which has newer manuals. It also contains all the CHARM manuals.

LEMON is the spiritual successor to CHARM, I recommend you try it!

Link: lemon-manuals.la or lemon-manuals.org.ua

(Some people have issue connecting. LEMON is investigating. For now, use Firefox or change your DNS server)

Or, hide this message: temporarily or permanently

SIR/SRS Wiring Repairs

SIR/SRS WIRING REPAIRS

TOOLS REQUIRED
J 38125-C Terminal Repair Kit

The supplemental inflatable restraint (SIR) system/supplemental restraint system (SRS) requires special wiring repair procedures due to the sensitive nature of the circuitry. Follow the specific procedures and instructions when working with the SIR/SRS system wiring, and the wiring components (such as connectors and terminals).

IMPORTANT: Do not use the terminals in the kit in order to replace damaged SIR/SRS system terminals unless specifically indicated by the terminal package.

The tool kit J 38125-C contains the following items:
- Special sealed splices - in order to repair the SIR/SRS system wiring
- A wire stripping tool
- A special crimping tool
- A heat torch
- An instruction manual

The sealed splices have the following 2 critical features:
- A special heat shrink sleeve environmentally seals the splice. The heat shrink sleeve contains a sealing adhesive inside.
- A cross hatched (knurled) core crimp provides necessary contact integrity for the sensitive, low energy circuits.

The J 38125-C also serves as a generic terminal repair kit. The kit contains the following items:
- A large sampling of common electrical terminals
- The correct tools in order to attach the terminals to the wires
- The correct tools in order to remove the terminals from the connectors

SIR/SRS Connector (Plastic Body And Terminal Metal Pin) Repair
Use the connector repair assembly packs in order to repair the damaged SIR/SRS wire harness connectors and the terminals. Do not use the connector repair assembly pack in order to repair the pigtails. These kits include an instruction sheet and the sealed splices. Use the sealed splices in order to splice the new wires, connectors, and terminals to the harness. The splice crimping tool is color keyed in order to match the splices from the J 38125-C. You must use the splice crimping tool in order to apply these splices.

The terminals in the SIR/SRS system are made of a special metal. This metal provides the necessary contact integrity for the sensitive, low energy circuits. These terminals are only available in the connector repair assembly packs. Do not substitute any other terminals for those in the assembly packs.

If the individual terminals are damaged on the sensing and diagnostic module (SDM) harness connector, use 1 of the following 2 components in order to replace the SDM harness connector:
- The SDM harness connector pigtail assembly
- The SDM harness connector replacement kit

If the individual terminals are damaged on any other SIR/SRS connection, use the appropriate connector repair assembly pack in order to replace the entire connection. Replace the entire SIR/SRS wiring harness, if needed, in order to maintain Restraint Systems/SRS circuit integrity.

SIR/SRS Wire Pigtail Repair

IMPORTANT: Do not make wire, connector, or terminal repairs on components with wire pigtails.

A wire pigtail is a wire or wires attached directly to the device (not by a connector). If a wiring pigtail is damaged, you must replace the entire component (with pigtail). The inflatable restraint steering wheel module coil is an example of a pigtail component.

SIR/SRS Wire Repair

TOOLS REQUIRED
J 38125-C Terminal Repair Kit

IMPORTANT: Refer to Wiring Repairs in order to determine the correct wire size for the circuit you are repairing. You must obtain this information in order to ensure circuit integrity.

If any wire except the pigtail is damaged, repair the wire by splicing in a new section of wire of the same gage size (0.5 mm, 0.8 mm, 1.0 mm etc.). Use the sealed splices and splice crimping tool from the J 38125-C. Use the following wiring repair procedures in order to ensure the integrity of the sealed splice.




1. Open the harness by removing any tape:
- Use a sewing seam ripper (available from sewing supply stores) in order to cut open the harness in order to avoid wire insulation damage.
- Use the crimp and sealed splice sleeves on all types of insulation except tefzel and coaxial.
- Do not use the crimp and sealed splice sleeve to form a splice with more than 2 wires coming together.

IMPORTANT: You must perform the following procedures in the listed order. Repeat the procedure if any wire strands are damaged. You must obtain a clean strip with all of the wire strands intact.

2. Cut as little wire off the harness as possible. You may need the extra length of wire in order to change the location of a splice. Adjust splice locations so that each splice is at least 40 mm (1.5 in) away from the other splices, harness branches, or connectors.
3. Strip the insulation:
- When adding a length of wire to the existing harness, use the same size wire as the original wire.
- Perform one of the following items in order to find the correct wire size:
- Find the wire on the schematic and convert the metric size to the equivalent AWG size.
- Use an AWG wire gage.
- If you are unsure of the wire size, begin with the largest opening in the wire stripper and work down until achieving a clean strip of the insulation.
- Strip approximately 7.5 mm (0.313 in) of insulation from each wire to be spliced.
- Do not nick or cut any of the strands. Inspect the stripped wire for nicks or cut strands.
- If the wire is damaged, repeat this procedure after removing the damaged section.
4. Select the proper sealed splice sleeve according to the wire size. Refer to the table at the beginning of the repair procedure for the color coding of the splice sleeves and the crimp tool nests.




5. Use the Splice Crimp Tool from the J 38125-C in order to position the splice sleeve in the proper color nest of the Splice Crimp Tool.




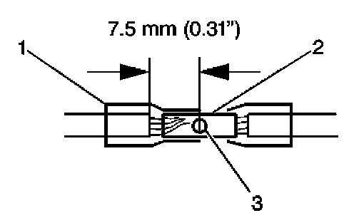
6. Place the splice sleeve in the nest. Ensure that the crimp falls midway between the end of the barrel and the stop. The sleeve has a stop (3) in the middle of the barrel (2) in order to prevent the wire (1) from going further. Close the hand crimper handles slightly in order to firmly hold the splice sleeve in the proper nest.




7. Insert the wire into the splice sleeve barrel until the wire hits the barrel stop.
8. Tightly close the handles of the crimp tool until the crimper handles open when released.
The crimper handles will not open until you apply the proper amount of pressure to the splice sleeve. Repeat steps 4 and 5 for the opposite end of the splice.




9. Using the heat torch, apply heat to the crimped area of the barrel.
10. Gradually move the heat barrel to the open end of the tubing:
- The tubing will shrink completely as the heat is moved along the insulation.
- A small amount of sealant will come out of the end of the tubing when sufficient shrinkage is achieved.

SIR/SRS System Wire Splice Repair
Apply a new splice (not sealed) from the J 38125-C if damage occurs to any of the original equipment splices (3 wires or more) in the SIR/SRS wiring harness. Carefully follow the instructions included in the kit for proper splice clip application.

Connector Position Assurance (CPA)
The connector position assurance (CPA) is a small plastic insert that fits through the locking tabs of all the SIR/SRS system electrical connectors. The CPA ensures that the connector halves cannot vibrate apart. You must have the CPA in place in order to ensure good contact between the SIR/SRS mating terminals.

Terminal Position Assurance (TPA)
The terminal position assurance (TPA) insert resembles the plastic combs used in the control module connectors. The TPA keeps the terminal securely seated in the connector body. Do not remove the TPA from the connector body unless you remove a terminal for replacement.