Operation CHARM: Car repair manuals for everyone.
Manuals through 2025 now available!

Our trusted friends have launched a new website named LEMON, which has newer manuals. It also contains all the CHARM manuals.

LEMON is the spiritual successor to CHARM, I recommend you try it!

Link: lemon-manuals.la or lemon-manuals.org.ua

(Some people have issue connecting. LEMON is investigating. For now, use Firefox or change your DNS server)

Or, hide this message: temporarily or permanently

Air Bag Control Module: Service and Repair

INFLATABLE RESTRAINT SENSING AND DIAGNOSTIC MODULE REPLACEMENT

REMOVAL PROCEDURE
1. Disable the SIR system. Refer to SIR Disabling and Enabling Zone 9.

CAUTION:
- Do not strike or jolt the inflatable restraint sensing and diagnostic module (SDM). Before applying power to the SDM, make sure that it is securely fastened with the arrow facing toward the front of the vehicle. Failure to observe the correct installation procedure could cause SIR deployment, personal injury, or unnecessary SIR system repairs.
- If the vehicle interior is exposed to moisture and becomes soaked up to the level of the sensing and diagnostic module (SDM), the SDM and SDM harness connector must be replaced. The SDM could be activated when powered, which could cause airbag deployment and result in personal injury.
- Refer to SIR Caution in Service Precautions.


2. Remove the passenger front seat.
3. Remove the passenger front carpet retainer. Roll back the carpet.
4. Remove the right side cowl trim panel.
5. Remove the right side insulator panel.




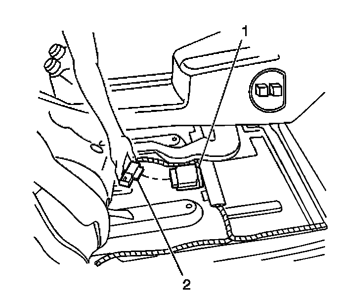
6. Remove the connector position assurance (CPA) (3) from the SDM wiring harness connector (2) on the inflatable restraint.




7. Disconnect the SDM wiring harness connector (2) from the SDM (1).




8. Remove the SDM mounting fasteners (1).
9. Remove the SDM (2) from the vehicle.

INSTALLATION PROCEDURE




1. Remove any dirt, grease, and other contaminants from the mounting surface.
2. Install the SDM (2) horizontally to the vehicle.
3. Point the arrow on the SDM toward the front of the vehicle.
4. Install the SDM mounting fasteners (1).

NOTE: Refer to Fastener Notice in Service Precautions.

Tighten
Tighten the fasteners to 10 N.m (89 lb in).




5. Install the SDM wiring harness connector (2) to the SDM (1).




6. Install the CPA (3) to the SDM wiring harness connector (2).
7. Place the carpet to cover the SDM. Install the carpet retainer.
8. Install the right side insulator panel.
9. Install the right side cowl trim panel.
10. Install the passenger front seat.
11. Enable the SIR system. Refer to SIR Disabling and Enabling Zone 9.
12. Perform the following SPS reprogramming procedure to allow the BCM to accept the new part number of the new SDM.
12.1. Connect the Tech 2 to the vehicle DLC.
12.2. Turn the key to the RUN position, with the engine off.
12.3. Turn on the Tech 2
12.4. When the main screen is displayed on the Tech 2, verify that software version 21.007 or newer is loaded in the Tech 2.
12.5. If the Tech 2 software is not 21.007 or newer, update the Tech 2. If the software is correct, continue by pressing Enter.
12.6. Complete the normal Service Programming procedure using the Tech 2 and the Techline Terminal.
12.7. After completing the Service Programming procedure, return to the main menu screen.
12.8. From the main menu screen, select F0, Diagnostics.
12.9. Select the applicable model year.
12.10. Select Truck. Press Enter.
12.11. Select Body Style. Press Enter.
12.12. Select "A" for two-wheel drive vehicles, or select "B" for four-wheel drive vehicles. The information is shown on the VIN. Press Enter.
12.13. Select the applicable Vehicle Division. Press Enter.
12.14. Select the applicable Model. Press Enter.
12.15. Select Supplemental Inflatable Restraint (SIR). Press Enter.
12.16. Select Diagnostic Trouble Codes. Press Enter.
12.17. Select Clear Diagnostic Trouble Codes. Press Enter.
12.18. Press YES to clear the codes.
12.19. After the codes are cleared, Exit back to the main menu screen. Turn the key to the OFF position. Disconnect the Tech 2 from the vehicle.
12.20. After turning the key to the OFF position, wait approximately 15 seconds.
12.21. While observing the air bag Indicator on the Instrument Panel, turn the key to the RUN position. The Air Bag Indicator should flash seven times and then go out. This is normal operation.

IMPORTANT: Verify, if possible, the part number on the original SDM and on the new SDM. Verify the part number on the shipping carton. If the part numbers are different, reprogram the BCM using the Service Programming procedure.