Operation CHARM: Car repair manuals for everyone.
Manuals through 2025 now available!

Our trusted friends have launched a new website named LEMON, which has newer manuals. It also contains all the CHARM manuals.

LEMON is the spiritual successor to CHARM, I recommend you try it!

Link: lemon-manuals.la or lemon-manuals.org.ua

(Some people have issue connecting. LEMON is investigating. For now, use Firefox or change your DNS server)

Or, hide this message: temporarily or permanently

Control Arm Bushing Replacement (Front Wheel Drive)

Control Arm Bushing Replacement (Front Wheel Drive)

^ Tools Required
- J 28685 Rear Suspension Bushing Remover/Installer
- J 9519-E Ball Joint Remover/Installer Kit

Removal Procedure





1. Raise and support the vehicle. Refer to Vehicle Lifting.
2. Use a utility stand in order to support the control arm forward of the coil spring.
3. Remove the control arm bolts from the rear axle.
4. Use the utility stand in order to lower the rear axle enough to gain access to the control arm bushing.
5. Mark the orientation of the control arm bushing in the lower control arm.





6. Use the J 28685 and the J 9519-E in order to remove the control arm bushing.

Installation Procedure





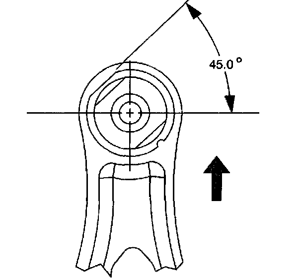
1. Align the flat edge of the bushing with the mark on the control arm in order to install the bushing at a 45 degree angle.





2. Use J 28685 and J 9519-E in order to install the control arm bushing.

Important: The bushing must extend 9.8 mm (0.39 inch) from the control arm.





3. The bushing is installed to the proper depth when the end of the bushing is aligned with the indicator line on J 28685.
4. Use the utility stand in order to raise the rear axle.
5. Install the control arm bolt to the rear axle.
6. Remove the utility stand.
7. Lower the vehicle.