Operation CHARM: Car repair manuals for everyone.
Manuals through 2025 now available!

Our trusted friends have launched a new website named LEMON, which has newer manuals. It also contains all the CHARM manuals.

LEMON is the spiritual successor to CHARM, I recommend you try it!

Link: lemon-manuals.la or lemon-manuals.org.ua

(Some people have issue connecting. LEMON is investigating. For now, use Firefox or change your DNS server)

Or, hide this message: temporarily or permanently

Fluid Pump: Service and Repair

Oil Pump Replacement

Removal Procedure
1. Remove the case side cover.

Notice: Do NOT remove the three bolts which hold the pump together.





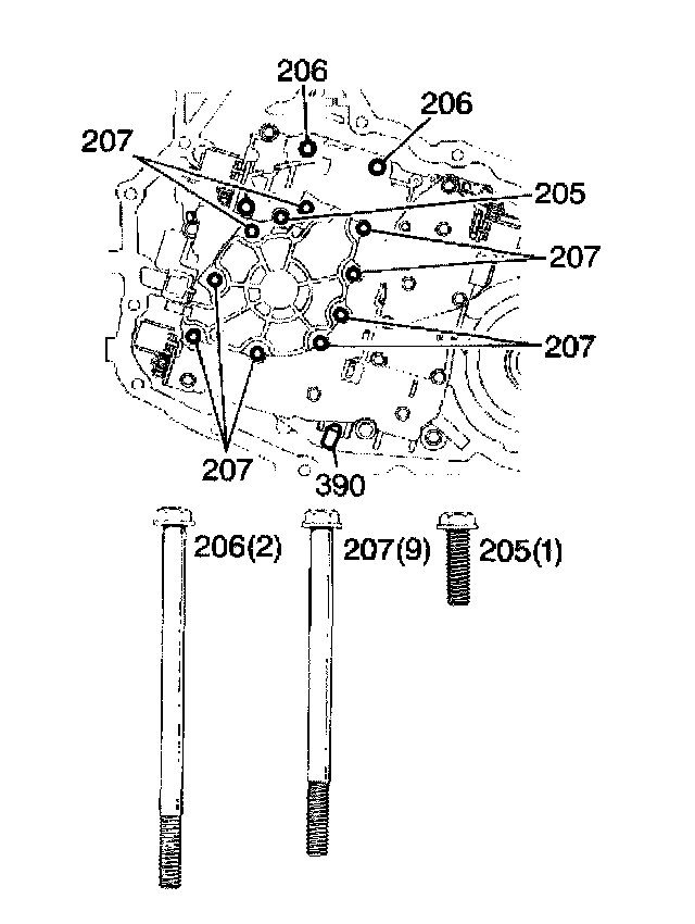
2. Remove the oil pump bolts (205-207).





3. Remove the oil pump (200) form the valve body (300).
4. Inspect the oil pump.

Installation Procedure





1. Install the oil pump (200) to the valve body (300).

Notice: Refer to Fastener Notice in Service Precautions.





2. Install the oil pump bolts (205-207).
^ Tighten the M6 X 1.0 X 20 bolt to 8 Nm (70 inch lbs.).
^ Tighten the M6 X 1.0 X 85 bolt to 12 Nm (106 inch lbs.).
^ Tighten the M6 X 1.0 X 95 bolt to 12 Nm (106 inch lbs.).
3. Install the case side cover.