Operation CHARM: Car repair manuals for everyone.
Manuals through 2025 now available!

Our trusted friends have launched a new website named LEMON, which has newer manuals. It also contains all the CHARM manuals.

LEMON is the spiritual successor to CHARM, I recommend you try it!

Link: lemon-manuals.la or lemon-manuals.org.ua

(Some people have issue connecting. LEMON is investigating. For now, use Firefox or change your DNS server)

Or, hide this message: temporarily or permanently

Thermo Element Replacement

Thermo Element Replacement

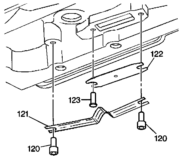
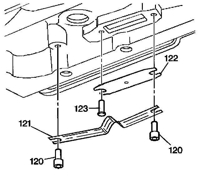
Tools Required
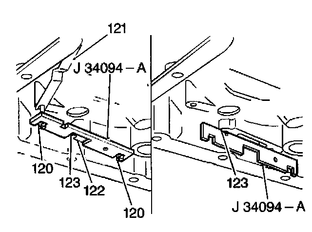
^ J34094-A Thermo Element Height Gage

Removal Procedure
1. Remove the oil pan.





2. Remove the thermo element pins and washers (120 and 123).
3. Remove the thermo element (121) and the thermo element plate (122).

Installation Procedure





1. Use the J34094-A to set the middle thermo pin (123).
2. Install the new thermo element plate (122).
3. Install the pin and washer (120).
4. Use the J34094-A to set the height of the pin and washer (120) furthest from the accumulator.
5. Use the J34094-A to set the height of the second pin and washer (120).





6. Carefully install the thermo element (121) between the two pin and washers (120). The V in the thermo element (121) must contact the thermo element plate (122).
7. Install the oil pan.