Operation CHARM: Car repair manuals for everyone.
Manuals through 2025 now available!

Our trusted friends have launched a new website named LEMON, which has newer manuals. It also contains all the CHARM manuals.

LEMON is the spiritual successor to CHARM, I recommend you try it!

Link: lemon-manuals.la or lemon-manuals.org.ua

(Some people have issue connecting. LEMON is investigating. For now, use Firefox or change your DNS server)

Or, hide this message: temporarily or permanently

Seats: Adjustments

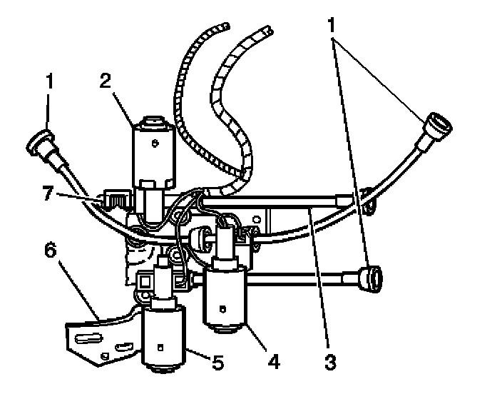
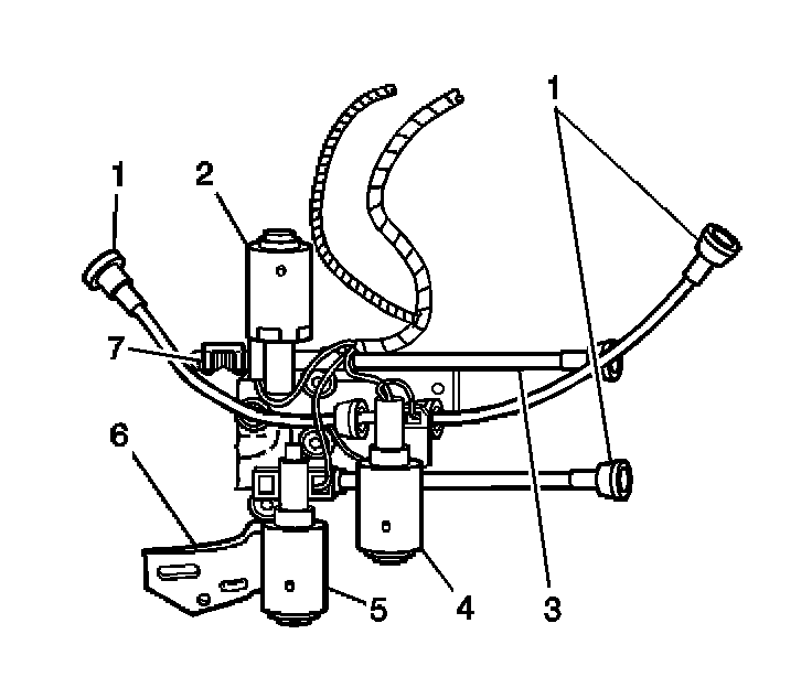
SEAT ADJUSTER PHASE ADJUSTMENT - POWER

Ensure that the following conditions are met when installing the power seat adjusters:
- Both adjusters are parallel.
- Both adjusters are in phase with each other.

The adjusters are out of phase when one adjuster reaches the maximum horizontal or vertical travel in a given direction before the other adjuster. Use the following procedures in order to phase adjusters:

Horizontal Travel




1. Operate the seat control switch until one adjuster reaches the full forward position.
2. Detach the horizontal drive cable (3) from the adjuster that has reached the full forward position.
3. Operate the seat forward until the other adjuster reaches the full forward position.
4. Connect the horizontal drive cable (3).
5. Inspect the horizontal travel of the seat.

Front Or Rear Vertical Travel




1. Operate the seat control switch until one adjuster reaches the fully raised position at the following points:
- Front vertical travel limit
- Rear vertical travel limit
2. Disconnect both vertical drive cables (1) from the adjuster that has reached the fully raised position.
3. Operate the seat control switch until the other adjuster reaches the fully raised position at the following points:
- Front vertical travel limit
- Rear vertical travel limit
4. Connect the front and rear drive cables (1).
5. Operate the adjusters through 2 complete cycles in order to inspect the vertical travel.
6. Repeat this procedure as necessary if the adjusters do not appear to be in phase after the test cycle.