Operation CHARM: Car repair manuals for everyone.
Manuals through 2025 now available!

Our trusted friends have launched a new website named LEMON, which has newer manuals. It also contains all the CHARM manuals.

LEMON is the spiritual successor to CHARM, I recommend you try it!

Link: lemon-manuals.la or lemon-manuals.org.ua

(Some people have issue connecting. LEMON is investigating. For now, use Firefox or change your DNS server)

Or, hide this message: temporarily or permanently

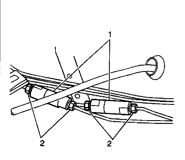
With ABS System

PROPORTIONING VALVE REPLACEMENT

Removal Procedure




1. Raise and support the vehicle.
2. Using a backup wrench, disconnect the brake lines (2) from the proportioning valves (1) and remove the valve assemblies (1).
3. Cap or plug the brake pipe ends to prevent brake fluid loss and contamination.


Installation Procedure
1. Remove the caps or plugs from the brake pipe ends.
2. Install the proportioning valves (1).
3. Connect the brake pipe finings (2) at the in-line proportioning valves (1).
Tighten the fittings to 27 Nm (20 lb ft).

4. Bleed the hydraulic brake system.