Operation CHARM: Car repair manuals for everyone.
Manuals through 2025 now available!

Our trusted friends have launched a new website named LEMON, which has newer manuals. It also contains all the CHARM manuals.

LEMON is the spiritual successor to CHARM, I recommend you try it!

Link: lemon-manuals.la or lemon-manuals.org.ua

(Some people have issue connecting. LEMON is investigating. For now, use Firefox or change your DNS server)

Or, hide this message: temporarily or permanently

Thread Repair Specifications

Thread Repair Specifications

Engine Block








Engine Block- Front View








Engine Block- Rear View











Engine Block- Left Side View











Engine Block - Right Side View











Engine Block-Bottom View








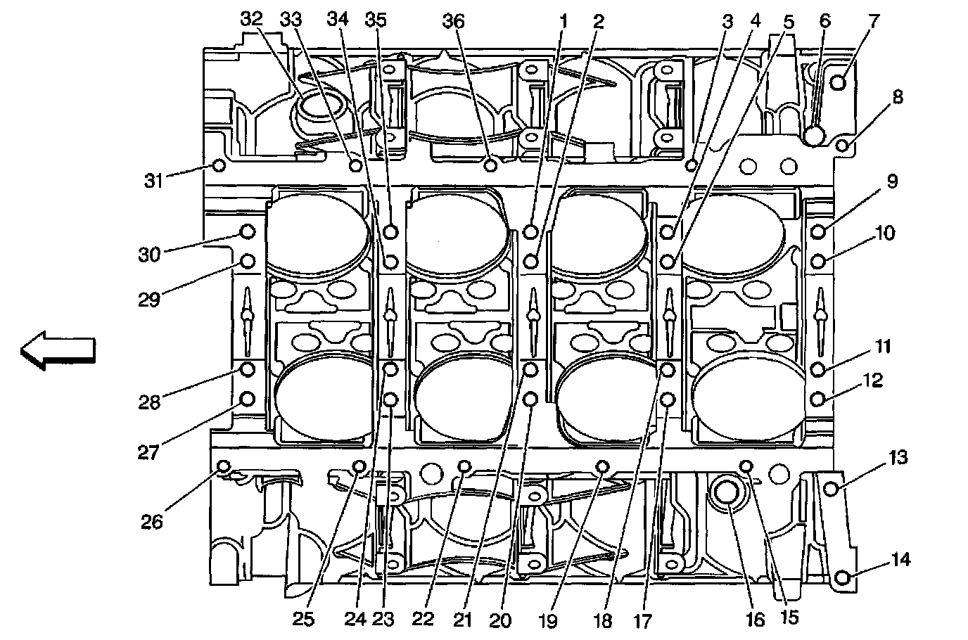
Engine Block - Top View

Cylinder Head








Cylinder Head - Top View








Cylinder Head - End View








Cylinder Head - Exhaust Manifold Deck View








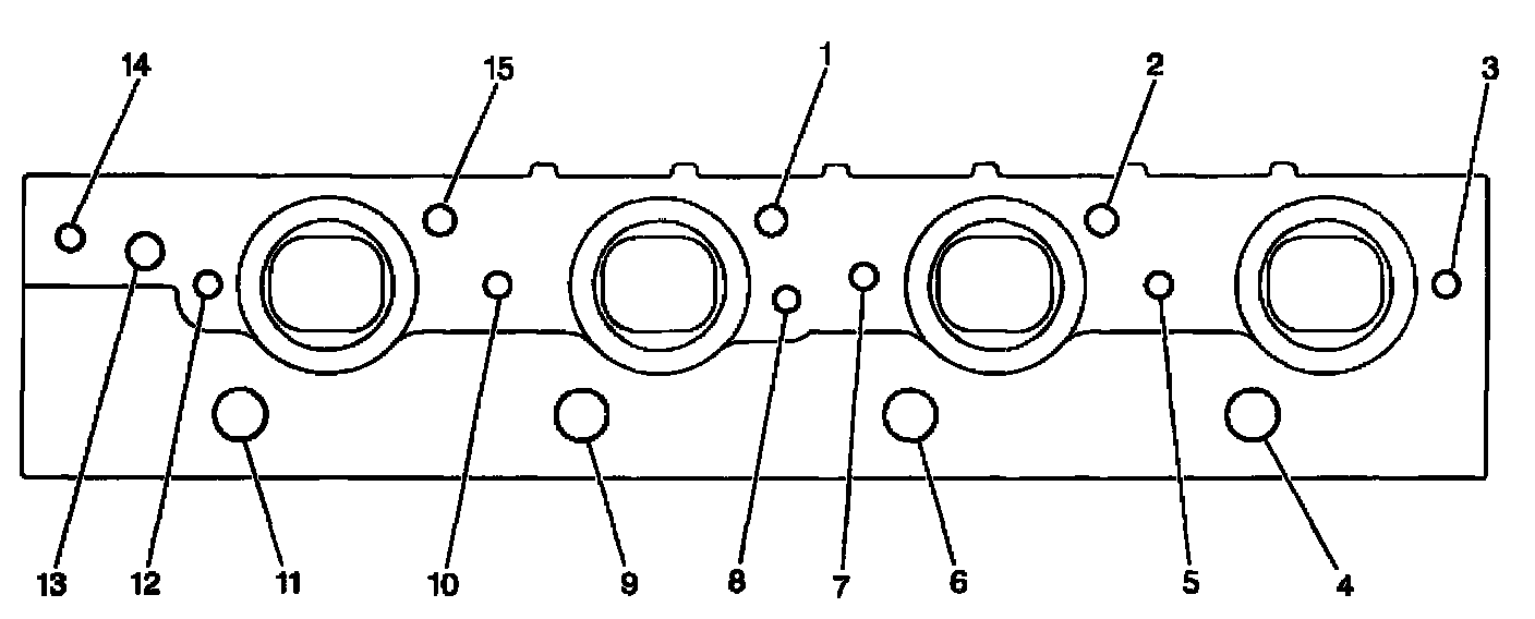
Cylinder Head - Intake Manifold Deck View