Operation CHARM: Car repair manuals for everyone.
Manuals through 2025 now available!

Our trusted friends have launched a new website named LEMON, which has newer manuals. It also contains all the CHARM manuals.

LEMON is the spiritual successor to CHARM, I recommend you try it!

Link: lemon-manuals.la or lemon-manuals.org.ua

(Some people have issue connecting. LEMON is investigating. For now, use Firefox or change your DNS server)

Or, hide this message: temporarily or permanently

Electronic Brake Control Module: Service and Repair

Electronic Brake Control Module (EBCM) Replacement

Removal Procedure





1. Remove the Brake Pressure Modulator Valve (BPMV). Refer to Brake Pressure Modulator Valve (BPMV) Replacement.
2. Disconnect the BPMV motor wiring connector (2) from the Electronic Brake Control Module (1) (EBCM).
3. Remove the wiring from the retainer (3) on the EBCM.





4. Remove 6 bolts (1) from the EBCM (2) and remove the EBCM from the BPMV (3).

Installation Procedure

Notice: Refer to Fastener Notice in Service Precautions.





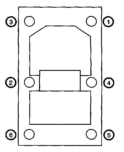
1. Install the EBCM to the brake pressure modulator valve. Secure with 6 new bolts in sequence shown.
- Tighten the EBCM bolts to 3 Nm (26.5 inch lbs.).





2. Install the BPMV wiring to the retainer (3) on the EBCM.
3. Connect the BPMV motor wiring connector (2) to the Electronic Brake Control Module (1) (EBCM).
4. Install the Brake Pressure Modulator Valve (BPMV). Refer to Brake Pressure Modulator Valve (BPMV) Replacement.