Operation CHARM: Car repair manuals for everyone.
Manuals through 2025 now available!

Our trusted friends have launched a new website named LEMON, which has newer manuals. It also contains all the CHARM manuals.

LEMON is the spiritual successor to CHARM, I recommend you try it!

Link: lemon-manuals.la or lemon-manuals.org.ua

(Some people have issue connecting. LEMON is investigating. For now, use Firefox or change your DNS server)

Or, hide this message: temporarily or permanently

Part 1




Fuel System Description

The fuel system is comprised of two subsystems. The fuel supply system and the fuel metering system. The correct amount of fuel can not be delivered to the engine cylinders without a constant supply of air from the air intake system. The air intake system provides measured clean air to each cylinder for proper mixture with the pressurized fuel. The powertrain control module (PCM), along with the information sensors and switches, controls the activity between all three systems.

Fuel System Components with FWD




1 - Fuel Rail
2 - Quick Connect Fuel Line Fittings
3 - Fill Limiter Vent Valve (FLVV)
4 - EVAP Canister
5 - Fuel Filler Door
6 - Fuel Filler Pipe
7 - Fuel Sender Assembly, includes fuel pump
8 - Fuel and EVAP Lines
9 - Fuel Tank
10 - Fuel Injectors

Fuel System Components with AWD




1 - Fuel Rail
2 - Quick Connect Fuel Line Fittings, in engine compartment
3 - Fill Limiter Vent Valve (FLVV)
4 - EVAP Canister
5 - Fuel Filler Door
6 - Fuel Filler Pipe
7 - Fuel Sender Assembly, includes fuel pump
8 - Quick Connect Fuel Line Fittings, fuel tank
9 - Fuel and EVAP Lines
10 - Fuel Tank
11 - Fuel Injectors

The fuel supply system is a returnless on-demand design, that reduces evaporative emissions. The fuel metering system is a sequential fuel injection (SFI) design. The function of the fuel metering system is deliver the correct amount of fuel to the engine under all operating conditions. The main component of the vehicle's fuel metering system is the fuel injectors. There is one fuel injector for each cylinder. The fuel injectors are controlled sequentially by the PCM. The PCM bases the control of the fuel injectors on several important engine parameters. These engine parameters include the following:

* The mass air flow (MAF) sensor
* The intake air temperature (IAT) sensor
* The engine coolant temperature (ECT) sensor
* The throttle position (TP) sensor
* The engine speed (RPM)
* The heated oxygen sensor (HO2S)

The engine is designed to use only unleaded fuel. Unleaded fuel must be used for proper emission control system operation. Using unleaded fuel will also decrease spark plug fouling and extend engine oil life. Leaded fuel can damage the emission control system. The use of leaded fuel can result in the loss of emission warranty coverage. Refer to Fuel System Specifications (Fuel System Specifications).

The vehicle fuel system is equipped with an evaporative emission (EVAP) control system that minimizes the release of fuel vapors to the atmosphere. For more information on the EVAP system, refer to Evaporative Emission Control System Description (Evaporative Emission (EVAP) Control System).

Fuel Supply System




1 - Fuel Pressure Gauge Adapter J 42982
2 - Fuel Feed Pipe
3 - Fuel Sender Assembly
4 - Fuel Tank
5 - Fuel Pressure Regulator
6 - Fuel Pump
7 - Fuel Sender (gauge)
8 - Fuel Filter
9 - Pinch Off Area
10 - Fuel Pressure Gauge J 34730-1A
11 - Fuel Injectors
12 - Fuel Rail

The supply of fuel is stored in the fuel tank. An electric fuel pump pressurizes the fuel through to the fuel filter and out to the fuel lines and the fuel rail. The electric fuel pump is suspended from the top of the fuel tank as part of the fuel sender assembly. The fuel pump is designed to provide fuel at a pressure above the regulated pressure needed by the fuel injectors. The fuel pressure regulator keeps the fuel supplied to the fuel injectors at the regulated pressure.

The fuel pressure regulator is located inside of the fuel tank and is part of the fuel sender assembly. Locating the fuel pressure regulator in the fuel tank eliminates the need for a return line from the fuel rail. A returnless system reduces the internal temperature of the fuel tank resulting in lower evaporative emissions.

The fuel system is also equipped with an enhanced evaporative emission system and an on-board refueling vapor recovery (ORVR) system. Together the 2 systems minimize the release of fuel vapors to the atmosphere.

Fuel Tank Assembly - FWD




1 - Hold Down Plate for Fuel Sender Assembly
2 - Fuel Limiter Vent Valve (FLVV) Cover
3 - Fuel Limiter Vent Valve (FLVV)
4 - Fuel Tank Vent Lines
5 - Fuel Filler Cap
6 - Fuel Filler Pipe Assembly
7 - Fuel Filler Hose
8 - Protective Cover for Fuel Filler Hose
9 - Fuel Tank Straps
10 - Fuel Tank
11 - Fuel Sender Assembly Gasket
12 - Fuel Sender Assembly

Fuel Tank Assembly - AWD




1 - Hold Down Plate for Fuel Sender Assembly
2 - Fuel Sender Assembly
3 - Fuel Sender Assembly Gasket
4 - Fuel Filler Vent Line
5 - Fuel Filler Cap
6 - Fuel Filler Pipe Assembly
7 - Fuel Filler Hose
8 - Protective Cover for Fuel Filler Hose
9 - Fuel Tank Straps
10 - Fuel Tank
11 - Fuel Sender Assembly Gasket
12 - Fuel Limiter Vent Valve (FLVV) Assembly
13 - Hold Down Plate for FLVV Assembly
14 - Fuel Limiter Vent Valve (FLVV) Cover

Fuel Tank

The FWD fuel tank has a storage capacity of 49 liters (13 gallons) and the AWD fuel tank has a storage capacity of 45 liters (12 gallons). The tank is manufactured from steel and is located behind the rear seat area. The tank is held in place with bolts. The shape of this tank was designed to allow for a constant supply of fuel around the fuel pump strainer during low fuel conditions and also during aggressive vehicle maneuvers. The fuel inlet port on the tank is equipped with an inlet valve. This fuel tank inlet valve prevents the fuel from spewing into the fuel filler neck during aggressive vehicle maneuvers or vehicle rollovers. The fuel tank is equipped with an on-board refueling vapor recovery (ORVR) system.

The fuel tank, pipes, and hoses should be checked for any road damage which could result in leakage. Also inspect the fuel filler cap for a correct seal and any indications of physical damage.

Fuel Tank Filler Neck

In order to prevent refueling with leaded fuel, the fuel filler neck has a built-in restrictor and deflector. The opening of the restrictor admits only the smaller unleaded fuel nozzle. The nozzle must be fully inserted to bypass the deflector. Any attempt at refueling with leaded fuel will result in fuel splashing out of the filler neck.

Fuel Filler Cap





Notice: If a fuel tank filler pipe cap requires replacement, use only a fuel tank filler pipe cap with the same features. Failure to use the correct fuel tank filler pipe cap can result in a serious malfunction of the fuel system.

The fuel filler cap is a pressure-vacuum type. A built-in torque limiting device on the cap prevents overtightening and also eliminates the escape of fuel vapors. To install the cap, turn the cap clockwise until a clicking noise is heard. This indicates that the fuel filler cap gasket (1) is fully seated.

A vacuum relief valve is incorporated into the fuel filler cap. If the pressure in the fuel tank becomes negative (vacuum), the relief valve opens to relieve the pressure created within the fuel tank. Only when the vacuum becomes excessive within the tank does this occur. Vacuum pressure is also vented through the tank pressure control valve which is located on the top of the fuel tank.

A pressure relief valve is also located in the fuel filler cap. The pressure of the fuel vapor within the tank should exceed that for which the fuel system is designed, the pressure relief valve opens, and the excess pressure is vented to the atmosphere.

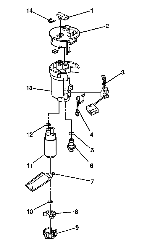
Fuel Sender Assembly

The fuel sender assembly is located in the fuel tank. The fuel sender assembly contains the electric fuel pump, the fuel level sensor, the fuel pressure regulator, and the fuel filter. Most of the fuel sender assembly components can be serviced separately.

Fuel Sender Assembly - FWD




1 - Fuel Tank Pressure (FTP) Sensor
2 - Fuel Sender Assembly Housing - Support
3 - Fuel Level Sensor
4 - Fuel Level Sender Wire Harness
5 - Fuel Pressure Regulator O-ring
6 - Fuel Pressure Regulator
7 - Fuel Pump Strainer
8 - Lower Cushion
9 - Fuel Sender Assembly End Cap - Support
10 - Retaining Clip
11 - Fuel Pump
12 - Fuel Pump O-ring
13 - Fuel Filter and Housing
14 - FTP Sensor Retaining Clip

Fuel Sender Assembly-AWD




1 - Fuel Tank Pressure (FTP) Sensor
2 - Fuel Sender Assembly Housing - Support
3 - Fuel Level Sensor
4 - Fuel Level Sender Wire Harness
5 - Fuel Pressure Regulator O-ring
6 - Fuel Pressure Regulator
7 - Fuel Pump Strainer
8 - Lower Cushion
9 - Fuel Sender Assembly End Cap - Support
10 - Retaining Clip
11 - Fuel Pump
12 - Fuel Pump O-ring
13 - Fuel Filter and Housing
14 - FTP Sensor Retaining Clip

Fuel Level Sensor





The fuel level sensor is part of the fuel sender assembly. The fuel level sensor (1) consists of a float (2), a float arm, and a variable resistor (1). The fuel level is measured by the position of the float in the fuel tank, and is indicated by a gauge in the instrument panel cluster (IPC) assembly. When the fuel level changes, the float position changes. The change in the float position increases or decreases the resistance reading of the variable resistor. The change in the resistance causes the position of the fuel gauge pointer to change.

Fuel Pump

The fuel pump is an electric pump that is controlled by the powertrain control module (PCM) through the circuit opening relay. When the PCM commands the fuel pump to operate, an impeller is driven by an electric motor in the pump assembly, causing the fuel in the tank to be drawn into the fuel pump inlet port. The fuel is then pumped under pressure through the fuel filter and the fuel pressure regulator, out to the fuel feed pipe and hoses to the fuel rail and the fuel injectors. The fuel pressure is maintained when the fuel pump is not running by a pressure control valve located within the pump.

Fuel Pump Strainer

The fuel pump strainer attaches to the lower end of the fuel pump and reservoir assembly. The fuel pump strainer is made of woven plastic. The functions of the fuel pump strainer are to filter contaminants and to wick fuel. The fuel pump strainer is self-cleaning and normally requires no maintenance. Fuel stoppage at this point indicates that the fuel tank contains an abnormal amount of sediment or water. Clean the fuel tank and replace a plugged fuel pump strainer with a new strainer.

Fuel Filter

The fuel filter located in the fuel tank and is part of the fuel sender assembly. The fuel filter housing is constructed to withstand the maximum fuel system pressure, exposure to fuel additives, and changes in temperature. The filter element is made of paper and is designed to trap the particles in the fuel that may cause damage to the fuel injection system.

Fuel Pressure Regulator





The fuel pressure regulator is located in the fuel tank and is part of the fuel sender assembly. The fuel pressure regulator is a diaphragm-operated pressure relief valve consisting of a diaphragm, a spring, and a valve. The fuel pressure regulator (2) is inserted into the fuel sender assembly and sealed with an o-ring (1). The fuel pressure regulator keeps the fuel delivered to the fuel injectors at the correct pressure.

Quick Connect Fittings

Quick connect style fuel fittings provide a simplified means of installing and connecting the fuel system components. Depending on the vehicle model, there are 2 types of quick connect fittings. Different types of fittings are used at different locations in the fuel system. Each type of quick connect fitting consists of a unique female connector and a compatible male fuel pipe end. O-rings located inside of the female connector provide a leak proof seal. Integral locking tabs or fingers hold the quick connect fittings together. A special tool is used to service the quick connect fittings.

Fuel Feed Pipes and Hoses

Caution: In order to Reduce the Risk of Fire and Personal Injury:

* If nylon fuel pipes are nicked, scratched or damaged during installation, Do Not attempt to repair the sections of the nylon fuel pipes. Replace them.
* When installing new fuel pipes, Do Not hammer directly on the fuel harness body clips as it may damage the nylon pipes resulting in a possible fuel leak.
* Always cover nylon vapor pipes with a wet towel before using a torch near them. Also, never expose the vehicle to temperatures higher than 115°C (239°F) for more than one hour, or more than 90°C (194°F) for any extended period.
* Before connecting fuel pipe fittings, always apply a few drops of clean engine oil to the male pipe ends. This will ensure proper reconnection and prevent a possible fuel leak. (During normal operation, the O-rings located in the female connector will swell and may prevent proper reconnection if not lubricated.)

The fuel feed and return pipes and hoses carry the fuel from the fuel tank to the fuel injectors. These pipes and hoses are attached to the underbody of the vehicle and should be inspected periodically for kinks or dents that could restrict the fuel flow.

Fuel Vapor Pipes and Hoses

The fuel vapor pipe and hoses carry the fuel vapors from the fuel tank to the evaporative emission (EVAP) canister located at the rear of the vehicle, ahead of the fuel tank. The fuel vapors are stored in the canister when the engine is not running. When the engine is running at the normal operating temperature and the accelerator pedal is depressed, the PCM will command the EVAP canister purge valve to open and allow the stored fuel vapors to be purged into the intake manifold where the vapors will be burned in the combustion process.