Operation CHARM: Car repair manuals for everyone.
Manuals through 2025 now available!

Our trusted friends have launched a new website named LEMON, which has newer manuals. It also contains all the CHARM manuals.

LEMON is the spiritual successor to CHARM, I recommend you try it!

Link: lemon-manuals.la or lemon-manuals.org.ua

(Some people have issue connecting. LEMON is investigating. For now, use Firefox or change your DNS server)

Or, hide this message: temporarily or permanently

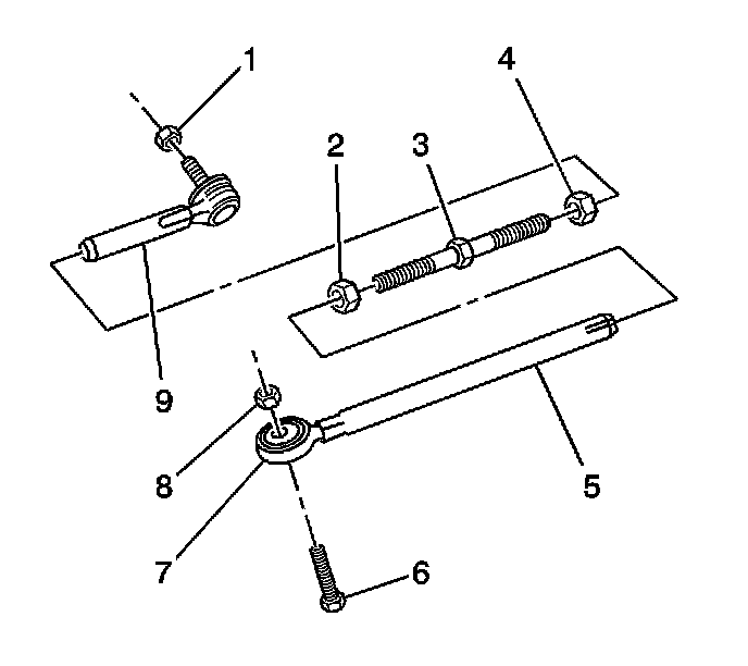
Rear Toe Adjustment


Rear Toe Adjustment
1. Measure the wheel alignment. Refer to Measuring Wheel Alignment .





2. Important: The following components have left-hand threads:
^ The inner adjustment link (5)
^ The inner lock nut (2)
^ The corresponding end of the adjuster (3)

Loosen the 2 lock nuts (2, 4) on the rear adjustment link assembly.
3. Rotate the center adjuster in order to adjust the rear toe to the specification. .Increasing the length of the adjustment link assembly will increase the rear wheel toe.
4. Use a wrench on the hexagonal crimped section of the outer adjustment link (9) in order to hold the position of the ball joint.

5. Notice: Refer to Fastener Notice in Service Precautions.

Tighten the 2 lock nuts.
Tighten the 2 lock nuts to 50 Nm (37 ft. lbs.).